k-part
Номер на схеме Каталожный номер Название Количество Детали
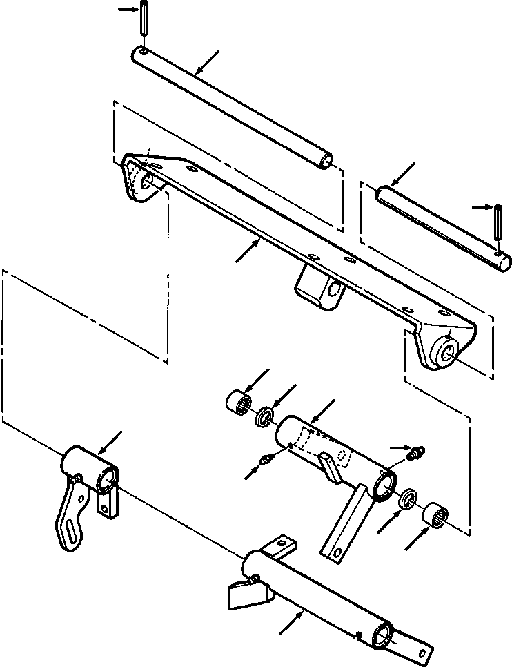
? (1281 120 H91) BRACKET ASSY, BRAKE SUPPORT -54 F1
? 1281 121 H91 • BRACKET, SUPPORT 1
? (1281 129 H91) • BELLCRANK ASSY, MAIN -54
? 740 465 C91 • • BEARING, SEALED 2
? 1281 130 H91 • • BELLCRANK, MAIN 1
? 109 454 • • FITTING, LUBE 2
? 1269 907 H1 • • SEAL, GREASE 2
? 19 795 R1 • PIN, ROLL - 1/4x1-3/4 1
? 1281 126 H1 • SHAFT, BRAKE 1
? SHAFT, THROTTLE (SEE PG 12-012) -29 12BVD38E.002
? BELLCRANK, DECELERATOR (SEE PG 12-012) -29 12BVD38E.002
? BELLCRANK, THROTTLE CONTROL (SEE PG 12-012) -29 12BVD38E.002
?
? F1 - PART NUMBER IS A NON-SERVICE PART AND IS LISTED FOR REFERENCE ONLY.
?

Bulldozers Komatsu / D38E-1/P-1 S/N P085501-P085798(D38EP1) / BRAKE SUPPORT BRACKET(04-008 : 04ADD32E.001)
?
?
?
?
?
?
?
?
?
?
?
?
?
?