| Номер на схеме | Каталожный номер | Название | Количество | Детали | |||
|---|---|---|---|---|---|---|---|
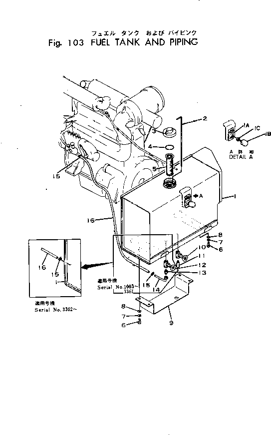
| ? | 201-04-00011 | FUEL TANK ASS'Y | 1 | SN: 3362- |
|||
| ? | □201-04-00010 | FUEL TANK ASS'Y | 1 | SN: 1003-3361 |
|||
| ? | ☆ | • TANK | 1 | SN: 3362- |
|||
| ? | ☆ | • TANK | 1 | SN: 1003-3361 |
|||
| ? | 202-54-12241 | • • LOCK (WELDED) | 1 | SN: 1003- |
|||
| ? | 130-911-1720 | • STOPPER | 1 | SN: 1003- |
|||
| ? | 01580-01210 | • NUT | 1 | SN: 1003- |
|||
| ? | 201-04-11121 | • GAUGE | 1 | SN: 1003- |
|||
| ? | 07050-20900 | • CAP | 1 | SN: 1003- |
|||
| ? | 07050-20902 | • • GASKET | 1 | SN: 1003- |
|||
| ? | 07057-03266 | • RING | 1 | SN: 1003- |
|||
| ? | 201-04-11180 | • STRAINER | 1 | SN: 1053- |
|||
| ? | □07056-06416 | • STRAINER | 1 | SN: 1003-1052 |
|||
| ? | 01010-31640 | BOLT | 6 | SN: 1003- |
|||
| ? | 01602-01648 | WASHER,SPRING | 6 | SN: 1003- |
|||
| ? | 01643-01645 | WASHER | 6 | SN: 1003- |
|||
| ? | 201-04-11150 | COVER | 1 | SN: 1003- |
|||
| ? | 07700-20502 | VALVE | 1 | SN: 1003- |
|||
| ? | 101-04-11170 | NIPPLE | 1 | SN: 1003- |
|||
| ? | 07700-20502 | VALVE | 1 | SN: 1003-3361 |
|||
| ? | 07213-51013 | CONNECTOR | 1 | SN: 1003-3361 |
|||
| ? | 201-04-11131 | TUBE | 1 | SN: 1003-3361 |
|||
| ? | 07280-01620 | CLAMP | 2 | SN: 1003- |
|||
| ? | 201-04-11140 | TUBE | 1 | SN: 1003- |
