| Номер на схеме | Каталожный номер | Название | Количество | Детали | |||
|---|---|---|---|---|---|---|---|
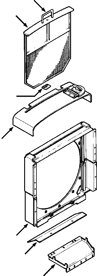
| ? | (1286 161 H91) | RADIATOR DEBRIS SCREEN | -54 | F1 | |||
| ? | 706 210 C1 | • BAFFLE, SCREEN | 1 | ||||
| ? | 747 180 C1 | • PAN, TRASH AND AIR DEFLECTOR | 1 | ||||
| ? | 26 309 R1 | • BOLT, MOUNTING - 3/8NCx3/4 | 6 | ||||
| ? | 115 093 | • WASHER, LOCK - 3/8 | 6 | ||||
| ? | 25 534 R1 | • WASHER, FLAT - 3/8 | 6 | ||||
| ? | 717 119 C92 | • SCREEN ASSY, DEBRIS | 1 | ||||
| ? | (NSS) | • • SCREEN, DEBRIS | 1 | ||||
| ? | 706 211 C1 | • • HANDLE, PINNED | 1 | ||||
| ? | 20 081 R1 | • • PIN, ROLL | 2 | ||||
| ? | • PRODUCT GRAPHIC - CAUTION (SEE PG 02-002) | -29 | 02-002 | ||||
| ? | HOOD, FRONT (SEE PG 13-006) | -29 | 13-006 | ||||
| ? | SHROUD, FAN (SEE PG 06-036) | -29 | 06-036 | ||||
| ? | |||||||
| ? | F1 - PART NUMBER IS A NON-SERVICE PART AND IS LISTED FOR REFERENCE ONLY. | ||||||
| ? |