| Номер на схеме | Каталожный номер | Название | Количество | Детали | |||
|---|---|---|---|---|---|---|---|
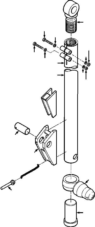
| ? | (633 277 C91) | BULLGRADER STRUTS | -54 | F1 | |||
| ? | (742 385 C91) | • STRUT ASSY, LOWER | -54 | F1 | |||
| ? | 734 909 C1 | • • EYEBOLT, STRUT TO BLADE | 1 | ||||
| ? | 317 434 R1 | • • SHAFT, UPPER STRUT MOUNTING | 1 | ||||
| ? | 24 870 R1 | • • BOLT, MOUNTING - 1/2NCx5 | 1 | ||||
| ? | 9412 230 | • • NUT, LOCK - 1/2NC | 1 | ||||
| ? | 742 384 C1 | • • BODY ASSY, LOWER STRUT | 1 | ||||
| ? | (NSS) | • • • BODY, LOWER STRUT | 1 | ||||
| ? | 317 431 R1 | • • • TRUNNION, C FRAME | 1 | ||||
| ? | 317 432 R1 | • • • PIN, TRUNNION | 1 | ||||
| ? | 290 288 R1 | • • • PIN, LOCK | 1 | ||||
| ? | 317 426 R91 | • • • BRACKET, UPPER STRUT MOUNTING | 1 | ||||
| ? | 24 896 R1 | • • BOLT, MOUNTING - 3/4NCx5 | 2 | ||||
| ? | 25 538 R1 | • • WASHER, FLAT - 3/4 | 4 | ||||
| ? | 9413 983 | • • NUT, LOCK - 3/4NC | 2 | ||||
| ? | |||||||
| ? | F1 - PART NUMBER IS A NON-SERVICE PART AND IS LISTED FOR REFERENCE ONLY. | ||||||
| ? |