| Номер на схеме | Каталожный номер | Название | Количество | Детали | |||
|---|---|---|---|---|---|---|---|
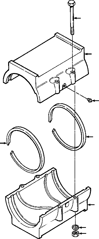
| ? | 251 937 R93 | BEARING ASSY, DIAGONAL BRACE | 2 | ||||
| ? | 24 845 R1 | • BOLT, MOUNTING - 3/8NCx4 | 4 | ||||
| ? | 103 321 | • WASHER, LOCK - 3/8 | 4 | ||||
| ? | 25 522 R1 | • NUT, HEX - 3/8NC | 4 | ||||
| ? | (NSS) | • BUSHING, UPPER BODY | 1 | ||||
| ? | 109 461 | • FITTING, LUBE | 1 | ||||
| ? | (NSS) | • BUSHING, LOWER BODY | 1 | ||||
| ? | 251 940 R1 | • STRIP, FELT | 2 |