| Номер на схеме | Каталожный номер | Название | Количество | Детали | |||
|---|---|---|---|---|---|---|---|
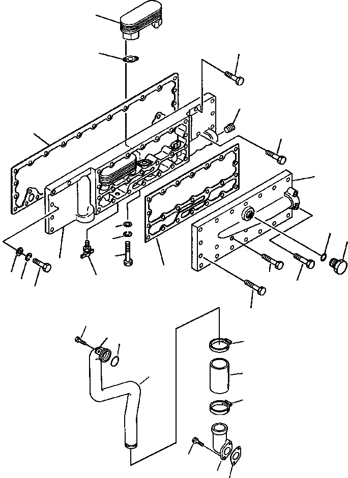
| ? | 1239 239 H1 | TUBE, WATER BYPASS | 1 | ||||
| ? | 1240 052 H1 | O-RING | 1 | ||||
| ? | 239 201 H1 | CONNECTION, WATER BYPASS | 1 | ||||
| ? | 140 483 H | BOLT, MOUNTING - 3/8NCx1-1/4 | 2 | ||||
| ? | 1239 332 H1 | BOLT, W/WASHER - 5/16NFx3/4 | 1 | ||||
| ? | 1295 458 H1 | HOSE, PLAIN | 1 | ||||
| ? | 1241 351 H1 | CLAMP, HOSE | 2 | ||||
| ? | 1295 718 H1 | GASKET, CONNECTION | 1 | ||||
| ? | 1239 913 H1 | CLIP | 1 | ||||
| ? | 1241 365 H91 | COOLER ASSY, ENGINE OIL | 1 | ||||
| ? | 1237 989 H1 | • BOLT, MOUNTING - 3/8NFx3-3/4 | 8 | ||||
| ? | 120 382 | • WASHER, LOCK | 8 | ||||
| ? | 1238 127 H1 | • DRAINCOCK | 1 | ||||
| ? | 1238 237 H1 | • WASHER, PLAIN | 10 | ||||
| ? | 1238 775 H1 | • GASKET, OIL COOLER | 4 | ||||
| ? | 1239 273 H1 | • BOLT, MOUNTING - 3/8NCx3-1/2 | 2 | ||||
| ? | 1241 342 H1 | • BOLT, MOUNTING - 3/8NCx1-5/8 | 7 | ||||
| ? | 1239 248 H2 | • GASKET, TORQUE CONVERTER OIL COOLER | 1 | ||||
| ? | 1238 328 H1 | O-RING | 1 | ||||
| ? | 1241 313 H1 | PLUG, THREADED | 1 | ||||
| ? | 1241 364 H1 | COVER, LUBE OIL COOLER | 1 | ||||
| ? | 1239 931 H1 | CORE, LUBE OIL COOLER | 2 | ||||
| ? | 1239 934 H91 | PLUG, THREADED | 2 | ||||
| ? | 1250 824 H1 | HOUSING, OIL COOLER | 1 | ||||
| ? | 120 382 | WASHER, LOCK | 4 | ||||
| ? | 1238 237 H1 | WASHER, PLAIN | 4 | ||||
| ? | 1241 309 H1 | BOLT, TWELVE POINT - 3/8NCx1-3/4 | 4 | ||||
| ? | 1241 336 H1 | BOLT, MOUNTING - 3/8NCx1-5/8 | 2 | ||||
| ? | 1239 759 H1 | BOLT, MOUNTING - 3/8NCx1-1/4 | 10 | ||||
| ? | 1239 776 H1 | BOLT, MOUNTING - 3/8NCx4 | 14 | ||||
| ? | 1239 878 H2 | GASKET, LUBE OIL COOLER HOUSING | 1 |