| Номер на схеме | Каталожный номер | Название | Количество | Детали | |||
|---|---|---|---|---|---|---|---|
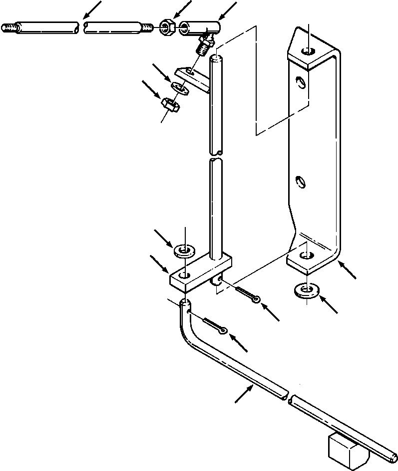
| ? | (1287 002 H91) | BRAKE LOCK SUPPORT | -54 | F1 | |||
| ? | 1287 039 H1 | • SUPPORT, MOUNTING | 1 | ||||
| ? | 1287 040 H91 | • ROD, LOCK | 1 | ||||
| ? | 1287 041 H91 | • BELLCRANK | 1 | ||||
| ? | 740 485 C1 | • ROD, PULL | 1 | ||||
| ? | 26 030 R1 | • NUT, HEX - 1/4NF | 1 | ||||
| ? | 281 800 C92 | • JOINT, BALL | 1 | F2 | |||
| ? | 120 380 | • WASHER, LOCK - 1/4 | 1 | ||||
| ? | 26 030 R1 | • NUT, HEX - 1/4NF | 1 | ||||
| ? | 30 259 R1 | • PIN, COTTER - 2.5x20MM | 1 | a | |||
| ? | 103 373 | • PIN, COTTER - 3/32x3/4 | 1 | b | |||
| ? | 25 534 R1 | • WASHER, FLAT - 3/8 | 1 | ||||
| ? | 30 259 R1 | • PIN, COTTER - 2.5x20MM | 1 | a | |||
| ? | 103 373 | • PIN, COTTER - 3/32x3/4 | 1 | b | |||
| ? | 25 536 R1 | • WASHER, FLAT - 1/2 | 1 | ||||
| ? | |||||||
| ? | F1 - PART NUMBER IS A NON-SERVICE PART AND IS LISTED FOR REFERENCE ONLY. | ||||||
| ? | |||||||
| ? | |||||||
| ? | F2 - BALL JOINT SHOWN 180ш FROM ACTUAL MOUNTING POSITION. | ||||||
| ? |