k-part
Номер на схеме Каталожный номер Название Количество Детали
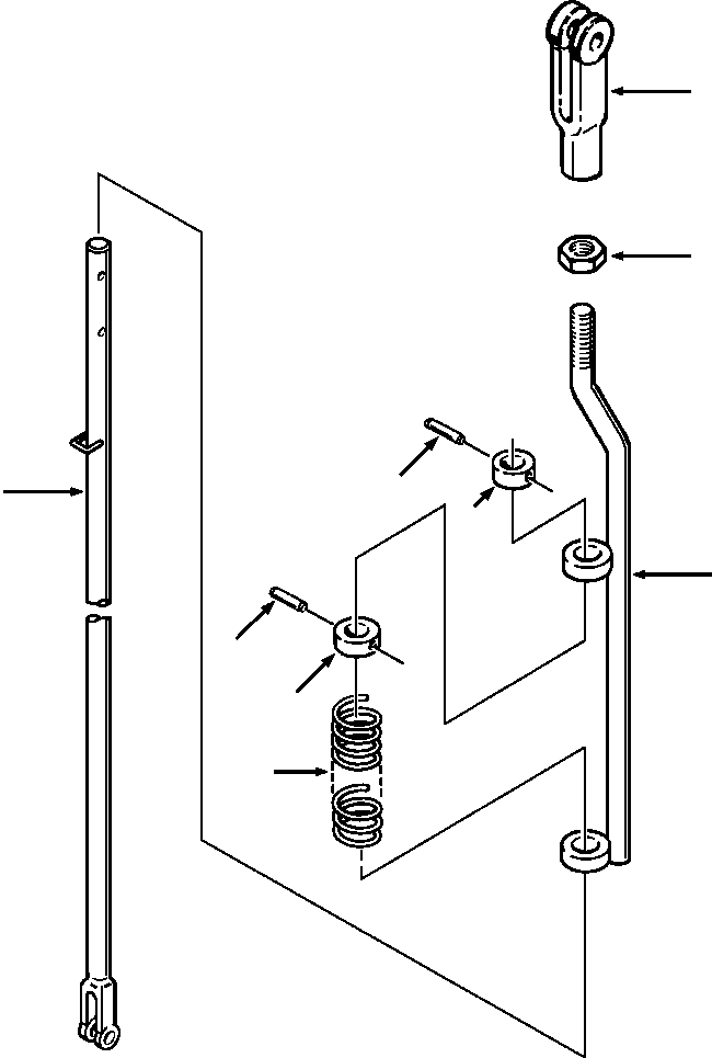
? (740 537 C91) ROD, BRAKE PULL -54 F1
? 740 538 C1 • ROD, REAR BRAKE 1
? 712 039 C1 • ROD, FRONT BRAKE 1
? 144 256 • CLEVIS, ROD END 1
? 25 527 R1 • NUT, JAM - 1/2NF 1
? 740 540 C1 • SPRING, BRAKE OVERRIDE 1
? 331 150 R1 • SPACER, SPRING 2
? 364 437 R1 • PIN, SPRING - 3/16x7/8 2
?
? F1 - PART NUMBER IS A NON-SERVICE PART AND IS LISTED FOR REFERENCE ONLY.
?

Crawler Bulldozers DRESSTA / TD-25G S/N U002001-Up/P070001-P072000(TD25G) / BRAKE PULL ROD(04-006 : 04-006)
?
?
?
?
?
?
?
?
?