k-part
Номер на схеме Каталожный номер Название Количество Детали
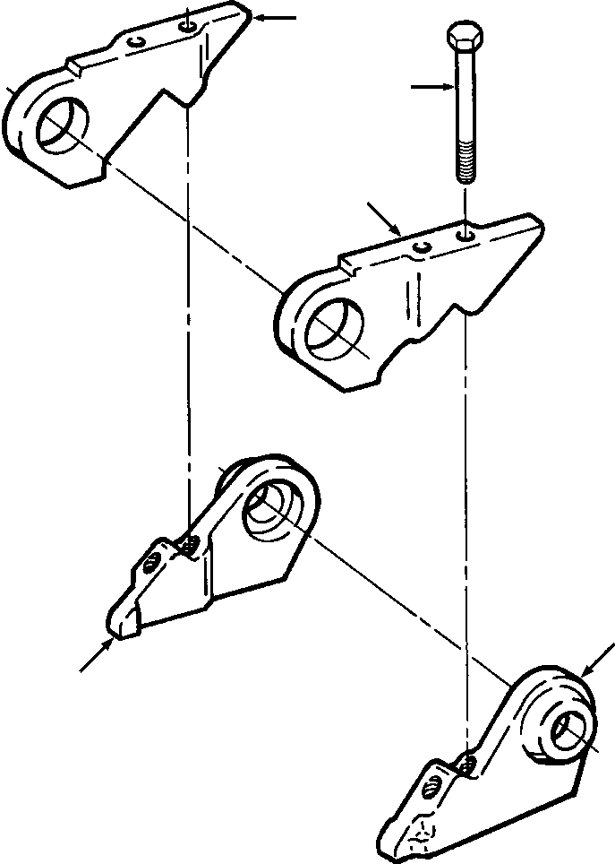
? 743 427 C93 PACKAGE, SPLIT LINK 1
? 740 533 C1 • LINK, LEFT SPLIT - PIN END 1
? 740 534 C1 • LINK, RIGHT SPLIT - PIN END 1
? 740 535 C1 • LINK, LEFT SPLIT - BUSHING END 1
? 740 536 C1 • LINK, RIGHT SPLIT - BUSHING END 1
? 740 568 C3 • BOLT, SPLIT LINK 4

Crawler Bulldozers DRESSTA / TD-25G S/N P072001-P072037(TD25GUG) / SPLIT LINK PACKAGE(15-014 : 15-014)
?
?
?
?
?