| Номер на схеме | Каталожный номер | Название | Количество | Детали | |||
|---|---|---|---|---|---|---|---|
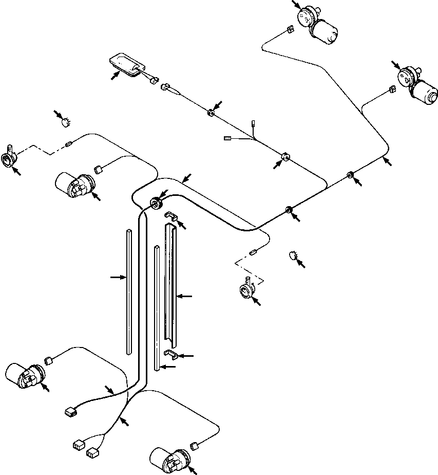
| ? | 1297 967 H1 | HARNESS, CAB FRONT | 1 | ||||
| ? | 1297 968 H1 | HARNESS, CAB REAR | 1 | ||||
| ? | MOTOR, LOWER FRONT WIPER (SEE PG 13-076) | -29 | 13-076 | ||||
| ? | SEAL, SPACER (32 IN. LONG) | 2 | F1 | ||||
| ? | 736 481 C1 | CHANNEL, HARNESS GUARD | 1 | ||||
| ? | 25 551 R1 | WASHER, FLAT - 1/4 | 2 | ||||
| ? | 26 110 R1 | NUT, LOCK - 1/4NC | 2 | ||||
| ? | MOLDING, CHANNEL - (3 IN. LONG) | 2 | F2 | ||||
| ? | MOTOR, FRONT TOP WIPER (SEE PG 13-078) | -29 | 13-078 | ||||
| ? | LIGHT, FRONT WORK (SEE PG 08-008) | -29 | 08-008 | ||||
| ? | 27 951 R1 | PLUG, BUTTON - W/O FRONT WORK LIGHTS | 2 | ||||
| ? | 1232 143 H1 | GROMMET, RUBBER | 5 | ||||
| ? | 120 879 | GROMMET, RUBBER | 1 | ||||
| ? | MOTOR, REAR WIPER (SEE PG 13-078) | -29 | 13-078 | ||||
| ? | LIGHT, DOME (SEE PG 13-074) | -29 | 13-074 | ||||
| ? | 732 747 C1 | GROMMET, RUBBER | 1 | ||||
| ? | 73 213 C1 | SEAL, BULK | A/R | ||||
| ? | 668 290 C1 | MOLDING, BULK | A/R | ||||
| ? | |||||||
| ? | F1 - CUT REQUIRED LENGTH FROM BULK SEAL 73 213 C1. | ||||||
| ? | |||||||
| ? | |||||||
| ? | F2 - CUT REQUIRED LENGTH FROM BULK MOLDING 668 290 C1. | ||||||
| ? |