| Номер на схеме | Каталожный номер | Название | Количество | Детали | |||
|---|---|---|---|---|---|---|---|
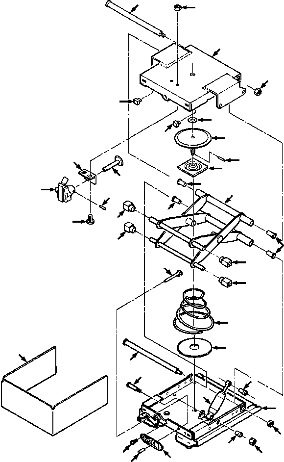
| ? | (1210 637 H91) | SUSPENSION ASSY, LOWER | -54 | F1 | |||
| ? | • ADJUSTER, SEAT (SEE PG 13-046) | -29 | 13-046 | ||||
| ? | 17 132 R1 | • PIN, ROLL | 1 | ||||
| ? | 1136 445 C1 | • PAD, SPRING | 1 | ||||
| ? | 1136 446 C1 | • SPRING, WEIGHT ADJUSTMENT | 1 | ||||
| ? | 1136 447 C1 | • WASHER, SPRING | 1 | ||||
| ? | 1136 448 C1 | • GEAR AND SHAFT, VERTICAL | 1 | ||||
| ? | 19 368 R1 | • PIN, ROLL | 1 | ||||
| ? | 1210 642 H1 | • GEAR AND SHAFT, HORIZONTAL | 1 | ||||
| ? | 1136 450 C1 | • BRACKET, SHAFT | 1 | ||||
| ? | 637 974 C1 | • ARM, SUSPENSION | 1 | ||||
| ? | 1136 547 C1 | • KNOB, WEIGHT ADJUSTMENT | 1 | ||||
| ? | 1136 569 C1 | • PRODUCT GRAPHIC, INSTRUCTION | 1 | ||||
| ? | 637 975 C1 | • BUSHING, TUBE | 4 | ||||
| ? | 1210 643 H1 | • BOOT, SUSPENSION | 1 | ||||
| ? | 404 434 C1 | • FASTENER, PUSH ON | 23 | ||||
| ? | 1136 520 C1 | • WASHER, THRUST | 1 | ||||
| ? | 1136 535 C1 | • BUMPER, SLIDER | 1 | ||||
| ? | 1136 536 C1 | • BUMPER, SLIDER | 1 | ||||
| ? | 1136 537 C1 | • BUMPER, SLIDER | 1 | ||||
| ? | 1136 538 C1 | • BUMPER, SLIDER | 1 | ||||
| ? | 637 978 C1 | • ABSORBER, SHOCK | 1 | ||||
| ? | 1136 542 C1 | • BUSHING, SHOCK ABSORBER | 2 | ||||
| ? | 1136 543 C1 | • BOLT, SHOULDER | 1 | ||||
| ? | 1210 661 H1 | • NUT, LOCK | 1 | ||||
| ? | 1136 545 C1 | • BUMPER, SLIDE | 2 | ||||
| ? | 1210 645 H1 | • INDICATOR, RIDE | 1 | ||||
| ? | 1210 646 H1 | • SHAFT, MOUNTING | 1 | ||||
| ? | 1210 660 H1 | • NUT, LOCK | 2 | ||||
| ? | 17 141 R1 | • PIN, ROLL | 1 | ||||
| ? | 598 794 R1 | • BOLT, CARRIAGE | 2 | ||||
| ? | 188 472 C1 | • NUT, LOCK | 2 | ||||
| ? | (NSS) | • HOUSING, UPPER | 1 | ||||
| ? | |||||||
| ? | F1 - PART NUMBER IS A NON-SERVICE PART AND IS LISTED FOR REFERENCE ONLY. | ||||||
| ? |