k-part
Номер на схеме Каталожный номер Название Количество Детали
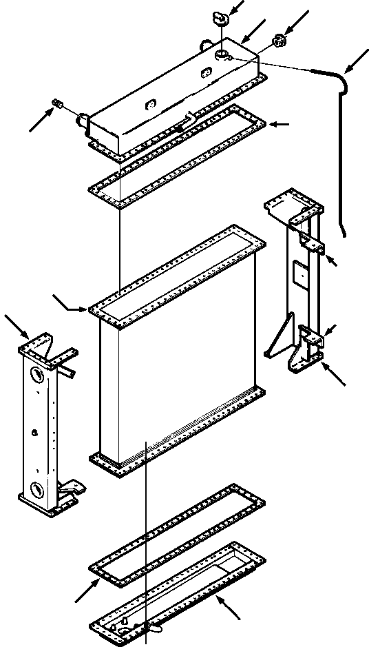
? (1236 486 H92) STANDARD CORE RADIATOR -54 F1
? • TANK, TOP 1
? 25 493 R1 • BOLT, MOUNTING - 5/16NCx1 6
? 25 492 R1 • BOLT, MOUNTING - 5/16NCx7/8 1
? 181 088 • BOLT, MOUNTING - 5/16NCx1 26
? 120 214 • WASHER, LOCK - 5/16 33
? 120 376 • NUT, HEX - 5/16NC 26
? 1251 328 H1 • GASKET 2
? 1251 329 H91 • SIDE ASSY, LEFT 1
? (NSS) • • SIDE, LEFT 1
? (NSS) • • BRACKET, COOLER MOUNTING 2
? 24 863 R1 • • BOLT, MOUNTING - 1/2NCx1-3/4 6
? 25 536 R1 • • WASHER, FLAT - 1/2 6
? 120 384 • • WASHER, LOCK - 1/2 6
? 25 526 R1 • • NUT, HEX - 1/2NC 6
? 1251 330 H91 • SIDE, RIGHT 1
? 1252 617 H1 • CORE 1
? 1251 335 H1 • TANK, BOTTOM 1
? 25 493 R1 • BOLT, MOUNTING - 5/16NCx1 6
? 25 492 R1 • BOLT, MOUNTING - 5/16NCx7/8 1
? 181 088 • BOLT, MOUNTING - 5/16NCx1 27
? 120 214 • WASHER, LOCK - 5/16 33
? 120 376 • NUT, HEX - 5/16NC 27
? 1251 332 H1 • TUBE, VENT - 5/16 OD 1
? 73 736 • CAP, RADIATOR 1
? 1251 334 H1 • PLUG, STEEL 1
? GAUGE, SIGHT (SEE PG 06-004) -29 06-004
?
? F1 - PART NUMBER IS A NON-SERVICE PART AND IS LISTED FOR REFERENCE ONLY.
?

Crawler Bulldozers DRESSTA / TD-25G S/N P072001-P072037(TD25GUG) / STANDARD CORE RADIATOR - G&O STANDARD APPLICATION(06-012 : 06-012)
?
?
?
?
?
?
?
?
?
?
?
?
?