| Номер на схеме | Каталожный номер | Название | Количество | Детали | |||
|---|---|---|---|---|---|---|---|
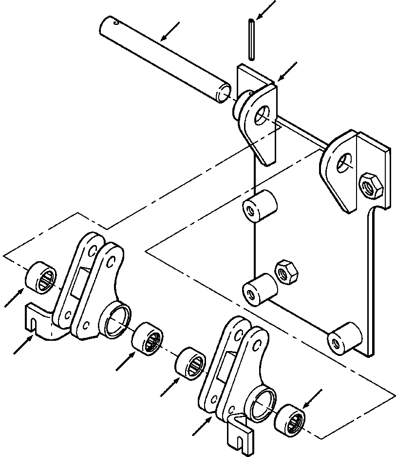
| ? | 1268 230 H91 | BRACKET ASSY, FOOT STEERING | 1 | ||||
| ? | 1269 042 H91 | • BELLCRANK ASSY, RIGHT | 1 | ||||
| ? | (NSS) | • • BELLCRANK, RIGHT | 1 | ||||
| ? | 173 892 C91 | • • BEARING | 2 | ||||
| ? | 1279 572 H91 | • BELLCRANK ASSY, LEFT | 1 | ||||
| ? | (NSS) | • • BELLCRANK, LEFT | 1 | ||||
| ? | 173 892 C91 | • • BEARING | 2 | ||||
| ? | 1258 270 H91 | • BRACKET, FOOT STEERING | 1 | ||||
| ? | 1258 273 H1 | • SHAFT, BELLCRANK | 1 | ||||
| ? | 19 444 R1 | • PIN, ROLL - 5/32x1-3/8 | 1 |