k-part
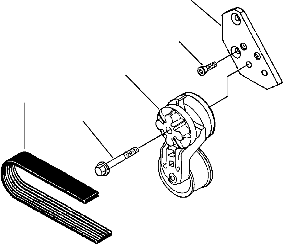
Номер на схеме Каталожный номер Название Количество Детали
? 6732-61-4220 BOLT, HEX - M8x25 2
? 6732-61-4120 BOLT, HEX - M10x70 1
? 6732-61-4170 BELT, V RIBBED 1
? 6732-61-4110 TENSIONER, BELT 1
? 6731-81-6350 BRACKET, BELT TENSIONER 1

Crawler Bulldozers DRESSTA / TD-8H S/N P035501-P036254(TD8H) / BELT, BELT TENSIONER & MOUNTING(12-116 : E6AC410T.005)
?
?
?
?
?