| Номер на схеме | Каталожный номер | Название | Количество | Детали | |||
|---|---|---|---|---|---|---|---|
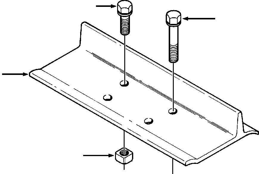
| ? | (1299 152 H91) | TRACK SHOES | -54 | F1 | |||
| ? | 1299 153 H1 | • SHOE, TRACK | 78 | ||||
| ? | 616 199 C4 | • BOLT, TRACK SHOE | 304 | ||||
| ? | 616 200 C1 | • NUT, TRACK SHOE | 304 | ||||
| ? | BOLT, MASTER LINK (SEE PG 15-010) | -29 | 15AMTD9H.001 | ||||
| ? | |||||||
| ? | F1 - PART NUMBER IS A NON-SERVICE PART AND IS LISTED FOR REFERENCE ONLY. | ||||||
| ? |