| Номер на схеме | Каталожный номер | Название | Количество | Детали | |||
|---|---|---|---|---|---|---|---|
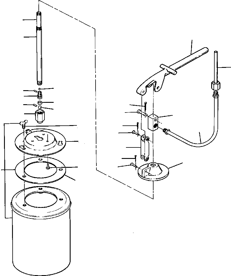
| ? | 1214 838 H91 | LUBRICATOR ASSEMBLY, TANK TYPE | 1 | ||||
| ? | 55 482 D | • HANDLE, LEVER | 1 | ||||
| ? | 103 372 | • PIN, COTTER | 3 | ||||
| ? | 40 638 D | • PIN, TOGGLE | 2 | ||||
| ? | 40 635 D | • PIN, HANDLE | 1 | ||||
| ? | 277 153 R1 | • TOGGLE, HANDLE | 1 | ||||
| ? | 53 202 D | • OUTLET, PUMP | 1 | ||||
| ? | 310 923 R1 | • BODY, PUMP | 1 | ||||
| ? | 310 924 R91 | • COVER, CONTAINER | 1 | ||||
| ? | 53 206 D | • TUBE, OUTER | 1 | ||||
| ? | 53 205 D | • TUBE, INNER | 1 | ||||
| ? | 53 200 D | • PIN, STOP - SMALL CHECK BALL | 1 | ||||
| ? | 53 203 D | • PACKING, PISTON | 1 | ||||
| ? | 53 201 D | • PIN, STOP - LARGE CHECK BALL | 1 | ||||
| ? | H 5 476 | • BALL, LARGE CHECK | 1 | ||||
| ? | 53 199 D | • BODY, FOOT VALVE | 1 | ||||
| ? | 53 198 D | • PISTON, PLUNGER | 1 | ||||
| ? | 39 659 D | • BALL, SMALL | 1 | ||||
| ? | 53 209 D | • CONTAINER ASSEMBLY, LUBRICATOR | 1 | ||||
| ? | 278 919 R1 | • • GASKET, COVER | 1 | ||||
| ? | 55 479 D | • • SCREW, COVER | 3 | ||||
| ? | 179 790 | • BOLT, MOUNTING - 1/4NCx7/16 | 3 | ||||
| ? | 115 547 | • WASHER, LOCK - 1/4 | 3 | ||||
| ? | 53 207 D | • HOSE, LUBRICATOR | 1 | ||||
| ? | 310 944 R91 | • NOZZLE, LUBRICATOR | 1 |