| Номер на схеме | Каталожный номер | Название | Количество | Детали | |||
|---|---|---|---|---|---|---|---|
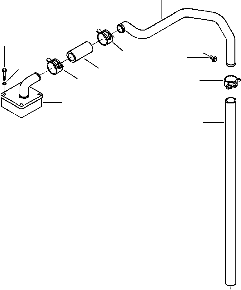
| ? | 6735-21-4120 | SCREW, SELF TAPPING (M8-1.25x15) | 1 | ||||
| ? | 1307 221 H1 | CLAMP, HOSE | 2 | ||||
| ? | 1307 222 H1 | BREATHER, CRANKCASE | 1 | ||||
| ? | 1307 224 H1 | WASHER, SEALING | 4 | ||||
| ? | 1307 225 H1 | SCREW, SELF TAPPING | 4 | ||||
| ? | 6742-01-4520 | TUBE, BREATHER | 1 | ||||
| ? | 1307 228 H1 | CLAMP, HOSE | 1 | ||||
| ? | 6742-01-4530 | HOSE, PLAIN | 1 | ||||
| ? | 6742-01-3881 | HOSE, PLAIN | 1 |