k-part
Номер на схеме Каталожный номер Название Количество Детали
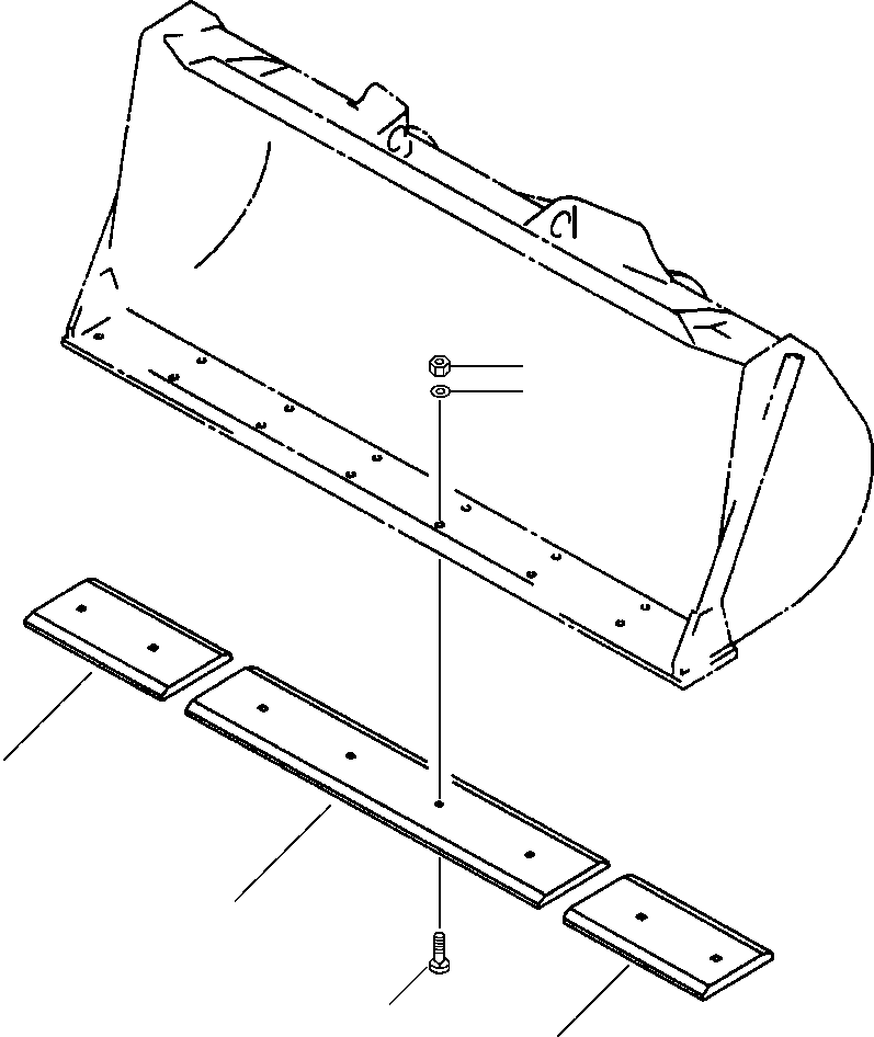
? 419-815-A110 EDGE CENTER, CUTTING 1
SN: A30001--
? 419-815-A120 EDGE SIDE, CUTTING 2
SN: A30001--
? 02090-11685 BOLT 8
SN: A30001--
? 02290-11625 NUT 8
SN: A30001--
? 01643-22460 WASHER 8
SN: A30001--

Wheel Loaders Komatsu / WA320-3L S/N A30001-UP(WA3203) / FIG. T4122-01A0 BOLT-ON CUTTING EDGE(T-014 : T4122-01A0)
?
?
?
?
?
?