| Наименование | Страница | Код страницы |
|---|---|---|
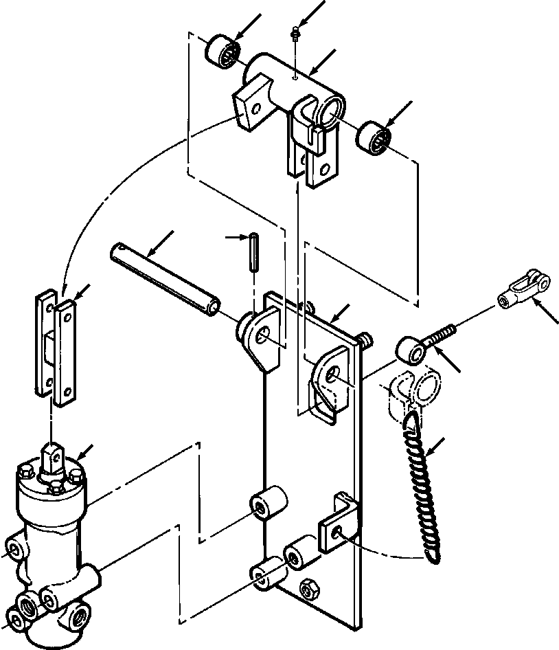
| FIG. F2300-02A5 BRAKE VALVE | F-016 | F2300-02A5 |
| Номер на схеме | Каталожный номер | Название | Количество | Детали | |||
|---|---|---|---|---|---|---|---|
| ? | 1306 944 H91 | VALVE AND BRACKET ASSEMBLY, BRAKE | 1 | SN: P086301 -- |
F1 | ||
| ? | 1306 954 H91 | • BRACKET, BRAKE | 1 | SN: P086301 -- |
|||
| ? | 1281 715 H91 | • BELLCRANK ASSEMBLY, BRAKE | 1 | SN: P086301 -- |
F1 | ||
| ? | 1281 716 H91 | • • BELLCRANK | 1 | SN: P086301 -- |
|||
| ? | 173 892 C91 | • • BEARING, NEEDLE | 2 | SN: P086301 -- |
|||
| ? | 109 454 | • • FITTING, LUBE | 1 | SN: P086301 -- |
|||
| ? | 346 019 R1 | • SPRING | 1 | SN: P086301 -- |
|||
| ? | 1268 173 H1 | • SHAFT, CONTROL | 1 | SN: P086301 -- |
|||
| ? | 19 444 R1 | • PIN, ROLL - 5/32x1-3/8 | 1 | SN: P086301 -- |
|||
| ? | 1281 714 H91 | • LINK, BRAKE | 1 | SN: P086301 -- |
|||
| ? | 26 114 R1 | • PIN, CLEVIS - 1/4x1-1/4 | 1 | SN: P086301 -- |
|||
| ? | 103 361 | • PIN, COTTER - 1/16x1/2 | 1 | SN: P086301 -- |
|||
| ? | 1258 313 H91 | EYE, STEERING | 1 | SN: P086301 -- |
|||
| ? | 25 934 R1 | NUT, JAM - 3/8NF | 1 | SN: P086301 -- |
|||
| ? | 865 197 R1 | PIN, CLEVIS - 3/8x1-7/32 | 1 | SN: P086301 -- |
|||
| ? | 103 373 | PIN, COTTER - 3/32x3/4 | 1 | SN: P086301 -- |
|||
| ? | 116 536 | CLEVIS - 3/8 | 1 | SN: P086301 -- |
|||
| ? | 865 197 R1 | PIN, CLEVIS - 3/8x1-7/32 | 1 | SN: P086301 -- |
|||
| ? | 103 373 | PIN, COTTER - 3/32x3/4 | 1 | SN: P086301 -- |
|||
| ? | 25 235 R1 | BOLT, HEX - 5/16NCx2-1/2 | 3 | SN: P086301 -- |
|||
| ? | 25 533 R1 | WASHER, FLAT - 5/16 | 3 | SN: P086301 -- |
|||
| ? | |||||||
| ? | F1 PART NUMBER IS A NONSERVICE PART AND IS LISTED FOR REFERENCE ONLY. ORDER INDIVIDUAL PIECE PARTS. | ||||||
| ? |