k-part
Номер на схеме Каталожный номер Название Количество Детали
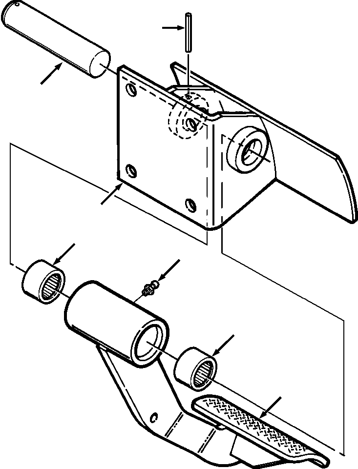
? 1306 636 H91 PEDAL AND BRACKET, BRAKE 1
SN: P086301 --
F1
? 1281 099 H91 • PEDAL ASSEMBLY, BRAKE 1
SN: P086301 --
F1
? 1281 101 H91 • • PEDAL, BRAKE 1
SN: P086301 --
? 740 465 C91 • • BEARING, NEEDLE 2
SN: P086301 --
? 109 454 • • FITTING, LUBE 1
SN: P086301 --
? 1306 604 H1 • SHAFT, CROSS 1
SN: P086301 --
? 1306 637 H92 • BRACKET, BRAKE PEDAL 1
SN: P086301 --
? 19 795 R1 • PIN, ROLL 1
SN: P086301 --
?
? F1 PART NUMBER IS A NONSERVICE PART AND IS LISTED FOR REFERENCE ONLY. ORDER INDIVIDUAL PIECE PARTS.
?

Bulldozers Komatsu / D38E-1A/P-1A S/N P086301-UP(D38EP1A) / FIG. K2400-06A1 SECONDARY BRAKE PEDAL AND BRACKET(K-086 : K2400-06A1)
?
?
?
?
?
?
?