| Номер на схеме | Каталожный номер | Название | Количество | Детали | |||
|---|---|---|---|---|---|---|---|
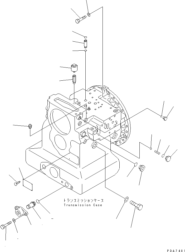
| ? | (124-15-00030) | TRANSMISSION ASS'Y | 1 | SN: B20001- |
|||
| ? | THIS ASSEMBLY CONSISTS OF ALL PARTS SHOWN IN FIGS.F2320-01A0 TO F2320-13A0. | ||||||
| ? | 124-15-51630 | • PLUG | 1 | SN: B20001- |
|||
| ? | 07002-02434 | • O-RING (K1) | 1 | SN: B20001- |
|||
| ? | 419-15-18230 | • COVER | 1 | SN: B20001- |
|||
| ? | 01010-81235 | • BOLT | 2 | SN: B20001- |
|||
| ? | 01643-31232 | • WASHER | 2 | SN: B20001- |
|||
| ? | 04260-01270 | • BALL | 1 | SN: B20001- |
|||
| ? | 104-15-35150 | • SPRING,(L= 34.3) | 1 | SN: B20001- |
|||
| ? | 124-15-51620 | • PLUG | 1 | SN: B20001- |
|||
| ? | 07002-02034 | • O-RING (K1) | 1 | SN: B20001- |
|||
| ? | 07030-00252 | • BREATHER | 1 | SN: B20001- |
|||
| ? | 170-21-11190 | • NIPPLE | 1 | SN: B20001- |
|||
| ? | 569-13-46620 | • PLUG | 1 | SN: B20001- |
|||
| ? | 07005-01212 | • GASKET (K1) | 1 | SN: B20001- |
|||
| ? | 07042-20108 | • PLUG | 1 | SN: B20001- |
|||
| ? | 01010-81665 | • BOLT | 4 | SN: B20001- |
|||
| ? | 01643-31645 | • WASHER | 4 | SN: B20001- |
|||
| ? | 01010-81245 | • BOLT | 3 | SN: B20001- |
|||
| ? | 01643-31232 | • WASHER | 3 | SN: B20001- |
|||
| ? | 124-15-51610 | • PLUG,(HOLE=10.5) | 1 | SN: B20001- |
|||
| ? | 07002-02434 | • O-RING (K1) | 1 | SN: B20001- |
|||
| ? | 09608-05080 | • PLATE¤ NAME,(LIMITED SUPPLY) | 1 | SN: B20001- |
|||
| ? | 04418-13060 | • SCREW | 4 | SN: B20001- |
|||
| ? | 124-15-51311 | • SLEEVE | 4 | SN: B20001- |
|||
| ? | 07000-72010 | • O-RING (K1) | 4 | SN: B20001- |
|||
| ? | 07000-72012 | • O-RING (K1) | 4 | SN: B20001- |