| Номер на схеме | Каталожный номер | Название | Количество | Детали | |||
|---|---|---|---|---|---|---|---|
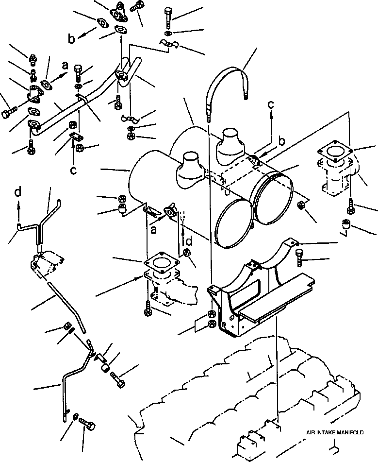
| ? | 6215-11-5521 | MUFFLER, FRONT | 1 | ||||
| ? | 6212-11-5611 | MUFFLER, REAR | 1 | ||||
| ? | 427-01-A2132 | BRACKET | 1 | ||||
| ? | 01643-31032 | WASHER | 6 | ||||
| ? | 01010-61045 | BOLT | 6 | ||||
| ? | 6215-11-5750 | BAND | 2 | ||||
| ? | 01594-01008 | NUT | 4 | ||||
| ? | 6211-11-5890 | GASKET | 2 | F1 | |||
| ? | 01010-E1055 | BOLT | 8 | ||||
| ? | 6631-11-5630 | SPACER | 7 | ||||
| ? | 01580-01008 | NUT | 8 | ||||
| ? | 427-01-A1250 | PLATE | 1 | ||||
| ? | 427-01-A2160 | TUBE, DRAIN | 1 | ||||
| ? | 6215-11-5682 | TUBE, DRAIN | 1 | ||||
| ? | 6215-11-5690 | TUBE, DRAIN | 1 | ||||
| ? | 175-06-31121 | SPACER | 1 | ||||
| ? | 6150-65-7440 | STAY | 1 | ||||
| ? | 427-01-A2170 | TUBE, DRAIN | 1 | ||||
| ? | 01010-61045 | BOLT | 1 | ||||
| ? | 01580-01008 | NUT | 1 | ||||
| ? | 01642-01016 | WASHER | 1 | ||||
| ? | 01010-61020 | BOLT | 1 | ||||
| ? | 01643-31032 | WASHER | 1 | ||||
| ? | 6128-11-5304 | CHECK VALVE ASS'Y | 2 | ||||
| ? | (NSS) | • BODY | 1 | ||||
| ? | 6128-11-5321 | • COVER | 1 | ||||
| ? | (NSS) | • VALVE | 1 | ||||
| ? | 6128-11-5611 | GASKET | 4 | F1 | |||
| ? | 01010-61035 | BOLT | 4 | ||||
| ? | 01580-01008 | NUT | 4 | ||||
| ? | 6215-11-5361 | TUBE, MUFFLER, FRONT | 1 | ||||
| ? | 6215-11-5370 | TUBE, MUFFLER, REAR | 1 | ||||
| ? | 01010-61030 | BOLT | 4 | ||||
| ? | 175-91-42140 | CLAMP | 2 | ||||
| ? | 01010-61065 | BOLT | 1 | ||||
| ? | 01580-01008 | NUT | 1 | ||||
| ? | 01640-01016 | WASHER | 2 | ||||
| ? | 6128-11-5872 | CLAMP | 1 | ||||
| ? | 01010-81025 | BOLT | 1 | ||||
| ? | 01580-01008 | NUT | 1 | ||||
| ? | 01640-21016 | WASHER | 1 | ||||
| ? | CONNECTION, EXHAUST (SEE PG E1-024) | -29 | E1BI12V.002 | ||||
| ? | |||||||
| ? | F1 - PART OF GASKET SET 6215-K1-4002. | ||||||
| ? |