| Номер на схеме | Каталожный номер | Название | Количество | Детали | |||
|---|---|---|---|---|---|---|---|
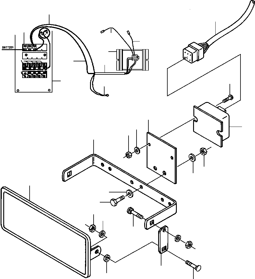
| ? | 1433 939 H91 | CONVERTER INSTALLATION - 5 A | 1 | ||||
| ? | 1432 494 H91 | • CONVERTER, 24 V TO 12 V | 1 | ||||
| ? | 82 842 | • SCREW, MACHINE | 2 | ||||
| ? | 57 226 | • WASHER, LOCK | 2 | ||||
| ? | 66 475 | • NUT, HEX | 2 | ||||
| ? | 1433 943 H1 | • PLATE, CONVERTER MOUNTING | 1 | ||||
| ? | 24 840 R1 | • BOLT | 2 | ||||
| ? | 25 534 R1 | • WASHER, FLAT | 4 | ||||
| ? | 25 522 R1 | • NUT, HEX | 2 | ||||
| ? | 1433 938 H92 | • HARNESS, CONVERTER WIRING | 1 | ||||
| ? | NSS | • • WIRE 65S - SWITCHED | 1 | ||||
| ? | NSS | • • WIRE 65C - HOT | 1 | ||||
| ? | NSS | • • GROUND WIRE - TO CAB FLOOR | 1 | ||||
| ? | NSS | • • WIRE 65M - MEMORY | 1 | ||||
| ? | NSS | • • WIRE 65A - POWER | 1 | ||||
| ? | 1432 613 H1 | • BREAKER, CIRCUIT - 5 A | 1 | ||||
| ? | 1106 459 C1 | • BAR, BUSS | 1 | ||||
| ? | 1431 315 H1 | • BRACKET | 2 | ||||
| ? | 465 567 R1 | • BOLT, CARRIAGE | 2 | ||||
| ? | 25 546 R1 | • WASHER, FLAT | 2 | ||||
| ? | 120 396 | • WASHER, FLAT | 2 | ||||
| ? | 359 787 C1 | • NUT, HEX | 2 | ||||
| ? | PANEL, CONSOLE SWITCH (SEE PG 11-002) | -29 | 11AHG532.002 | ||||
| ? | MIRROR INSTALLATION (SEE PG 13-162) | -29 | 13FR4151.001 | ||||
| ? | 1434 023 H1 | SEALANT, ELECTRIC | 1 | F1 | |||
| ? | |||||||
| ? | F1 - APPLY TO TERMINALS: FILL FEMALE CONNECTORS ONE-HALF FULL. | ||||||
| ? |