k-part
Номер на схеме Каталожный номер Название Количество Детали
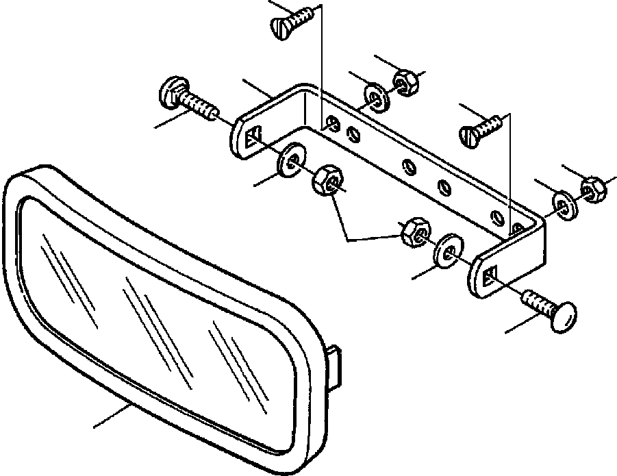
? 1171 831 C1 MIRROR, CONVEX 1
? 598 813 R1 BOLT, CARRIAGE 2
? 120 396 WASHER, FLAT 2
? 359 787 C1 NUT, LOCK 2
? 1171 438 C1 BRACKET, MIRROR MOUNTING 1
? 21 780 R1 SCREW, MACHINE 2
? 120 394 WASHER, FLAT 2
? 120 377 NUT, HEX 2

Graders Komatsu / GD530A/AW-2B/2C w/S6D102E S/N 203163-Up(GD530A2C) / INSIDE REAR-VIEW MIRROR(13-162 : 13FR4151.001)
?
?
?
?
?
?
?
?
?
?
?
?
?