k-part
Номер на схеме Каталожный номер Название Количество Детали
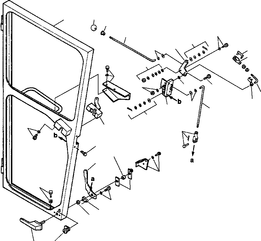
? 1439 474 H91 DOOR ASSEMBLY - R.H 1
? 1438 318 H91 • DOOR WELDMENT 1
? 120 361 • NUT 1
? 120 391 • WASHER 6
? 274 957 • SCREW, MACHINE 1
? 180 083 • BOLT 1
? 120 393 • WASHER 1
? 9413 994 • NUT 1
? 120 393 • WASHER 1
? 1438 140 H1 • LEVER 1
? 1439 466 H1 • SPACER 1
? 1437 904 H2 • BAR, DRIVE 1
? 1437 374 H2 • BEARING, DOOR HANDLE 2
? 1439 467 H1 • SPACER, NYLON 1
? 1437 862 H1 • HANDLE, DOOR 1
? 155 945 • SCREW 2
? 1438 398 H1 • COVER, TOP 1
? 443 874 • SCREW 2
? 120 391 • WASHER 2
? 1439 468 H1 • GASKET 1
? 120 393 • WASHER 1
? 1439 468 H1 • GASKET 1
? 120 393 • WASHER 2
? 1439 475 H1 • WASHER 1
? 103 373 • PIN, COTTER 1
? 1438 462 H1 • ROD, PULL 1
? 1439 465 H1 • BUSHING, SNAP 1
? 123 377 • KNOB 1
? 1437 848 H1 • LATCH 1
? 1437 314 H1 • SCREW 4
? 1439 468 H1 • GASKET 1
? 120 393 • WASHER 1
? 1439 468 H1 • GASKET 1
? 120 393 • WASHER 2
? 1439 475 H1 • WASHER, SPRING 1
? 103 373 • PIN, COTTER 1
? 1438 463 H1 • ROD, CONTROL 1
? 1439 452 H1 • LEVER, RELEASE 1
? 144 242 • CLEVIS, ROD END 1
? 121 741 • PIN, CLEVIS 1
? 103 373 • PIN, COTTER 1
? 180 020 • BOLT 1
? 124 818 • NUT 1
? 180 020 • BOLT 1
? 120 392 • WASHER 1
? 1437 863 H2 • LOCK, DOOR 1
? 1439 456 H1 • COVER, BOTTOM 1
? 443 874 • SCREW 2
? 120 391 • WASHER 2
? 1437 131 H1 • ROD, CLIP 1
? 1438 464 H1 • ROD, CONNECTION 1
? 1439 470 H1 • CLIP, CONNECTION 1
? 1439 469 H1 • CLEVIS, ROD 1
? 1437 861 H1 • LATCH, DOOR 1
? 180 022 • BOLT 4
? 120 392 • WASHER 4

Graders Komatsu / GD530A/AW-2B/2C w/S6D102E S/N 203163-Up(GD530A2C) / R.H. CAB DOOR LOW PROFILE - S/N 203887 AND UP(13-076 : 13CMG650.006)
?
?
?
?
?
?
?
?
?
?
?
?
?
?
?
?
?
?
?
?
?
?
?
?
?
?
?
?
?
?
?
?
?
?
?