| Номер на схеме | Каталожный номер | Название | Количество | Детали | |||
|---|---|---|---|---|---|---|---|
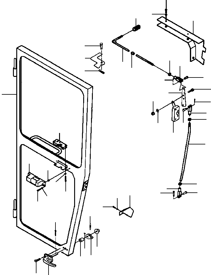
| ? | 1434 624 H92 | DOOR - R.H | 1 | ||||
| ? | 1433 119 H91 | • COVER WELDMENT | 1 | ||||
| ? | 443 874 | • SCREW | 3 | ||||
| ? | 120 391 | • WASHER, FLAT | 3 | ||||
| ? | 1210 166 H1 | • CAP | 1 | F1 | |||
| ? | 1244 532 H1 | • KNOB | 1 | F2 | |||
| ? | 1433 126 H1 | • ROD | 1 | F1 | |||
| ? | 1436 404 H1 | • ROD | 1 | F2 | |||
| ? | 1244 591 H1 | • BUSHING | 1 | F1 | |||
| ? | 1436 409 H1 | • BUSHING | 1 | F2 | |||
| ? | 120 613 | • NUT, JAM | 1 | ||||
| ? | 116 383 | • CLEVIS | 1 | ||||
| ? | 138 083 | • PIN, CLEVIS | 2 | ||||
| ? | 1433 128 H1 | • LEVER | 1 | ||||
| ? | 103 362 | • PIN, COTTER | 2 | ||||
| ? | 1433 129 H1 | • ARM, DOOR LINKAGE | 1 | ||||
| ? | 25 222 R1 | • BOLT | 2 | ||||
| ? | 120 392 | • WASHER | 2 | ||||
| ? | 273 924 | • NUT, LOCK | 2 | ||||
| ? | 1266 240 H91 | • LATCH | 1 | ||||
| ? | 1437 314 H1 | • SCREW, MACHINE | 4 | ||||
| ? | 1433 127 H1 | • ROD, LINKAGE | 1 | F1 | |||
| ? | 25 395 R1 | • NUT, JAM | 2 | ||||
| ? | 144 242 | • CLEVIS | 2 | ||||
| ? | 121 741 | • PIN, CLEVIS | 2 | ||||
| ? | 103 373 | • PIN, COTTER | 3 | ||||
| ? | 1244 516 H3 | • HANDLE, LOCKING | 1 | F1 | |||
| ? | 1434 434 H1 | • KEY | 1 | ||||
| ? | 155 945 | • SCREW, MACHINE | 2 | ||||
| ? | 1434 422 H1 | • SPACER | 1 | ||||
| ? | 1434 511 H1 | • SPRING | 1 | ||||
| ? | 1434 855 H2 | • LEVER, TRIP | 1 | ||||
| ? | 127 782 | • SCREW, SET | 1 | ||||
| ? | 1432 355 H1 | • BUSHING | 1 | ||||
| ? | 1433 125 H1 | • COVER, BOTTOM | 1 | ||||
| ? | 443 874 | • SCREW | 2 | ||||
| ? | 120 391 | • WASHER, FLAT | 2 | ||||
| ? | 156 265 | • BOLT | 2 | F1 | |||
| ? | 1437 314 H1 | • SCREW, MACHINE | 2 | F2 | |||
| ? | 138 604 | • WASHER, LOCK | 2 | F1 | |||
| ? | 1246 706 H1 | • LATCH | 1 | F1 | |||
| ? | 1437 324 H91 | • LATCH | 1 | F2 | |||
| ? | 1437 562 H1 | • WASHER, MOUNTING | 4 | F2 | |||
| ? | 160 556 | • SCREW, PAN HEAD | 2 | ||||
| ? | 120 392 | • WASHER, FLAT | 2 | ||||
| ? | 1434 875 H1 | • COVER | 1 | ||||
| ? | 1432 357 H1 | • SPACER | 2 | ||||
| ? | 1431 965 H91 | • DOOR WELDMENT | 1 | ||||
| ? | |||||||
| ? | F1 - S/N 203163-203190: ORDER THE FOLLOWING; | ||||||
| ? | 1438 324 H92 | KIT, DOOR LATCH IMPROVEMENT | 1 | ||||
| ? | |||||||
| ? | F2 - S/N 203191 AND UP. | ||||||
| ? |