| Номер на схеме | Каталожный номер | Название | Количество | Детали | |||
|---|---|---|---|---|---|---|---|
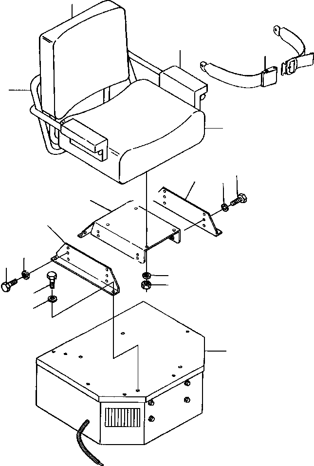
| ? | 1259 390 H91 | SEAT INSTALLATION, STANDARD | 1 | F2 | |||
| ? | 91 868 | • SEAT ASSEMBLY | 1 | ||||
| ? | 93 043 | • • FRAME, SEAT | 1 | ||||
| ? | 93 041 | • • CUSHION, BACK REST | 1 | ||||
| ? | 93 040 | • • PAD, ARM REST | 2 | ||||
| ? | 93 042 | • • CUSHION, SEAT | 1 | ||||
| ? | 160 578 | SCREW | 13 | ||||
| ? | 110 186 | • BELT, SEAT | 1 | F1 | |||
| ? | 1438 349 H91 | • BRACKET, SEAT | 1 | ||||
| ? | 60 365 H | • BOLT | 8 | ||||
| ? | 390 305 C1 | • WASHER, FLAT | 8 | ||||
| ? | 25 708 R1 | • WASHER, FLAT | 4 | ||||
| ? | 27 254 R1 | • NUT, HEX | 4 | ||||
| ? | 1438 353 H1 | • ANGLE, SEAT SUPPORT | 2 | ||||
| ? | BOX ASSEMBLY, SEAT (SEE PG 13-046) | -29 | 13CDG530.002 | ||||
| ? | BOX ASSEMBLY, HEATER (SEE PG 13-126) | -29 | 13DZG581.001 | ||||
| ? | BOX ASSEMBLY, HEATER (SEE PG 13-128) | -29 | 13DZG530.001 | ||||
| ? | BOX ASSEMBLY, AIR CONDITIONER/HEATER (SEE PG 13-138) | 13DZG582.001 | |||||
| ? | BOX ASSEMBLY, AIR CONDITIONER/HEATER (SEE PG 13-140) | 13DZG530.003 | |||||
| ? | |||||||
| ? | |||||||
| ? | F1 - INCLUDES MOUNTING HARDWARE. | ||||||
| ? | |||||||
| ? | |||||||
| ? | F2 - NOT SERVICED. REFERENCE ONLY. | ||||||
| ? |