| Номер на схеме | Каталожный номер | Название | Количество | Детали | |||
|---|---|---|---|---|---|---|---|
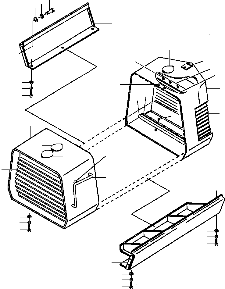
| ? | 1436 943 H91 | SHELL WELDMENT - REAR | 1 | ||||
| ? | 1436 942 H1 | • PLATE, COVER - HYDRAULIC OIL FILL | 1 | ||||
| ? | 1434 616 H1 | • PLATE, COVER - FUEL FILL | 1 | ||||
| ? | 1279 452 H1 | • HANDLE, GRAB - L.H | 1 | ||||
| ? | 1250 695 H1 | • SUPPORT - L.H | 1 | ||||
| ? | 1279 452 H1 | HANDLE, GRAB - R.H. - OPTIONAL | 1 | ||||
| ? | 1250 695 H1 | SUPPORT - R.H. - OPTIONAL | 1 | ||||
| ? | 120 382 | WASHER, LOCK | 24 | ||||
| ? | 120 394 | WASHER, PLAIN | 24 | ||||
| ? | 24 842 R1 | BOLT | 3 | ||||
| ? | 162 033 | GRILL WELDMENT - REAR | 1 | F1 | |||
| ? | 180 122 | BOLT | 1 | ||||
| ? | 120 382 | WASHER, LOCK | 1 | ||||
| ? | 120 394 | WASHER, FLAT | 3 | ||||
| ? | 21 622 R1 | NUT, LOCK | 2 | ||||
| ? | 24 841 R1 | BOLT | 13 | ||||
| ? | 140 483 H | BOLT | 13 | ||||
| ? | 140 483 H | BOLT | 10 | ||||
| ? | 120 382 | WASHER, LOCK | 10 | ||||
| ? | 120 394 | WASHER, FLAT | 10 | ||||
| ? | 25 522 R1 | NUT, HEX | 10 | ||||
| ? | 149 865 | STRIP, RADIATOR SEAL | 2 | ||||
| ? | 149 864 | SEAL, RADIATOR | 2 | ||||
| ? | 140 483 H | BOLT | 2 | ||||
| ? | 1435 185 H1 | BRACKET, RADIATOR SUPPORT | 1 | ||||
| ? | 25 553 R1 | WASHER, FLAT | 4 | ||||
| ? | 21 622 R1 | NUT, LOCK | 2 | ||||
| ? | 1435 184 H1 | BAR, SHOCK MOUNT | 1 | ||||
| ? | 1436 579 H2 | FOAM, AIR BARRIER | 2 | ||||
| ? | 24 840 R1 | BOLT | 2 | ||||
| ? | 120 382 | WASHER, LOCK | 2 | ||||
| ? | 25 553 R1 | WASHER, FLAT | 2 | ||||
| ? | 26 319 R1 | BOLT, LOCK | 1 | ||||
| ? | 113 977 | WASHER, SPECIAL | 1 | ||||
| ? | 124 813 | MOUNT, RUBBER | 1 | ||||
| ? | 149 134 | PLATE, COVER | 1 | ||||
| ? | 140 483 H | BOLT | 3 | ||||
| ? | 120 382 | WASHER, LOCK | 3 | ||||
| ? | 1436 946 H91 | SHELL WELDMENT - FRONT | 1 | ||||
| ? | 1436 942 H1 | • PLATE, COVER - RADIATOR FILL | 1 | ||||
| ? | 1436 628 H91 | GRILL WELDMENT, REMOVABLE - R.H | 1 | ||||
| ? | 1436 629 H91 | GRILL WELDMENT, REMOVABLE - L.H | 1 | ||||
| ? | 24 840 R1 | BOLT | 8 | ||||
| ? | 120 382 | WASHER, LOCK | 8 | ||||
| ? | 120 394 | WASHER, FLAT | 8 | ||||
| ? | 1436 924 H91 | PANEL, ENGINE | 1 | ||||
| ? | 1436 920 H91 | TRAY, BATTERY | 1 | ||||
| ? | |||||||
| ? | F1 - NOT REQUIRED WHEN ENGINE COMPARTMENT SOUND INSULATION IS | ||||||
| ? | INSTALLED (SEE PG 13-009). |