| Номер на схеме | Каталожный номер | Название | Количество | Детали | |||
|---|---|---|---|---|---|---|---|
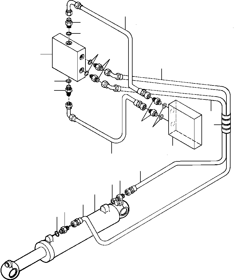
| ? | VALVE, LEANING WHEEL CYLINDER (SEE PG 10-172) | -29 | 10BHG8II.014 | ||||
| ? | 570 828 R1 | O-RING | 2 | ||||
| ? | 9410 203 | CONNECTOR | 2 | ||||
| ? | 1253 470 H1 | HOSE | 1 | ||||
| ? | 1253 057 H1 | HOSE | 1 | ||||
| ? | 9410 203 | CONNECTOR | 2 | ||||
| ? | 570 828 R1 | O-RING | 4 | ||||
| ? | VALVE, DUAL PILOT CHECK (SEE PG 10-176) | -29 | 10BH4151.006 | ||||
| ? | 587 639 R1 | CONNECTOR, REDUCING | 2 | ||||
| ? | 1257 910 H1 | HOSE | 1 | ||||
| ? | 1253 061 H1 | HOSE | 1 | ||||
| ? | 161 496 | SLEEVE | 1 | ||||
| ? | 935 433 R1 | CONNECTOR, REDUCING | 2 | ||||
| ? | 364 885 R1 | O-RING | 2 | ||||
| ? | CYLINDER, LEANING WHEEL (SEE PG 10-204) | -29 | 10BRG531.001 |