| Номер на схеме | Каталожный номер | Название | Количество | Детали | |||
|---|---|---|---|---|---|---|---|
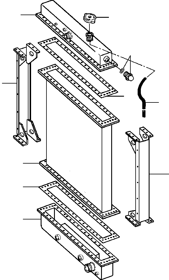
| ? | 1435 099 H91 | RADIATOR/OIL COOLER | 1 | SN: 211061-211069- |
|||
| ? | 1435 713 H1 | • TANK ASSEMBLY, TOP | 1 | SN: 211061-211069- |
|||
| ? | 1435 712 H1 | • CAP, RADIATOR | 1 | SN: 211061-211069- |
|||
| ? | 1431 086 H1 | • GLASS, SIGHT | 1 | SN: 211061-211069- |
|||
| ? | (NSS) | • • O-RING | 1 | SN: 211061-211069- |
|||
| ? | 86 412 | • HOSE - 5 FT. | 1 | SN: 211061-211069- |
|||
| ? | 1431 087 H1 | • CLIP, HOSE | 2 | SN: 211061-211069- |
|||
| ? | 1435 716 H1 | • GASKET - 2 PIECES PER USAGE | 4 | SN: 211061-211069- |
|||
| ? | 1435 714 H1 | • CHANNEL | 2 | SN: 211061-211069- |
|||
| ? | 1435 711 H1 | • CORE | 1 | SN: 211061-211069- |
|||
| ? | 1435 715 H1 | • COOLER, BOTTOM TANK AND OIL | 1 | SN: 211061-211069- |
|||
| ? | 1431 091 H1 | • STRIP, CLAMP - 4 HOLES | 2 | SN: 211061-211069- |
|||
| ? | • STRIP, CLAMP - 18 HOLES | 2 | SN: 211061-211069- |
||||
| ? | 1431 209 H91 | • KIT, BOLT | 1 | SN: 211061-211069- |
|||
| ? | 25 493 R1 | • • BOLT | 88 | SN: 211061-211069- |
|||
| ? | 120 214 | • • WASHER, LOCK | 88 | SN: 211061-211069- |
|||
| ? | 25 520 R1 | • • NUT, HEX | 88 | SN: 211061-211069- |