k-part
Номер на схеме Каталожный номер Название Количество Детали
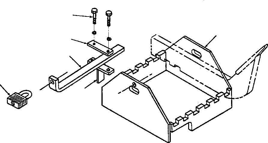
? 650 382 C92 PADLOCK 1
? 1311 216 H1 KEYS 1
? 152 691 BRACKET WELDMENT 1
? 152 692 LOCK, BAR 1
? 161 860 H45 RETAINER WELDMENT, SHANK 1
? 161 861 BAR 1
? 24 841 R1 BOLT 2
? 25 554 R1 WASHER, FLAT 2

Graders Komatsu / GD650A-2CY S/N 211061-211069(GD650AK) / FIG. V5120-01A0 SCARAFIER TOOTH STORAGE(V-006 : V5120-01A0)
?
?
?
?
?
?