k-part
Номер на схеме Каталожный номер Название Количество Детали
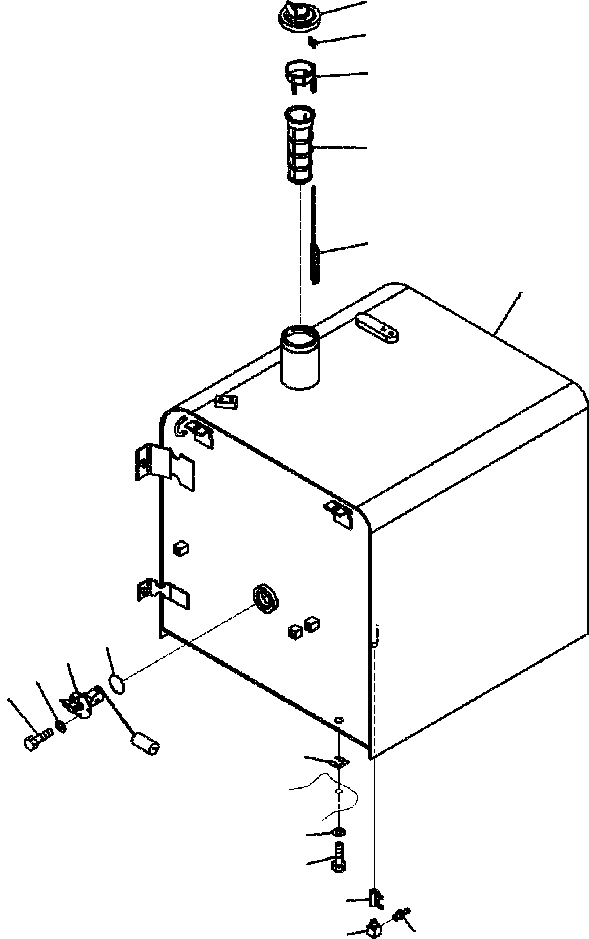
? 207-04-71111 TANK 1
SN: A85001--
? 07700-50345 VALVE 1
SN: A85001--
? 154-865-1160 ELBOW 1
SN: A85001--
? 6138-55-7610 NIPPLE 1
SN: A85001--
? 20Y-04-11160 CAP 1
SN: A85001--
? 7861-92-5810 SENSOR, FUEL LEVEL 1
SN: A85001--
? 07000-13050 O-RING 1
SN: A85001--
? 01010-80612 BOLT 4
SN: A85001--
? 01643-30623 WASHER 4
SN: A85001--
? 22U-04-21241 STRAINER ASSEMBLY 1
SN: A85001--
? 22U-04-21200 • FLOAT ASSEMBLY 1
SN: A85001--
? 22U-04-21210 • • GUIDE 1
SN: A85001--
? 20Y-04-21580 • • CAP 1
SN: A85001--
? 22U-04-21220 • • FLOAT 1
SN: A85001--
? 07056-18425 • STRAINER 1
SN: A85001--
? 01010-81635 BOLT 6
SN: A85001--
? 01643-31645 WASHER 6
SN: A85001--
? 195-03-11570 SHIM, 1.0 MM 2
SN: A85001--

Excavators Komatsu / PC300HD-7L S/N A85001-UP(PC300HD7) / D0100-01A0 FUEL TANK(D-001 : D0100-01A0)
?
?
?
?
?
?
?
?
?
?
?
?
?
?
?
?