k-part
Номер на схеме Каталожный номер Название Количество Детали
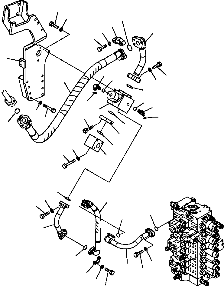
? BRACKET (SEE FIG. H1270-04A0 )
SN: A85001--
H1270-04A0
? 01011-81200 BOLT 8
SN: A85001--
? 01643-31232 WASHER 8
SN: A85001--
? VALVE ASSEMBLY (SEE FIG. H1270-04A0 )
SN: A85001--
H1270-04A0
? 11Y-62-12160 ELBOW 1
SN: A85001--
? 02896-11008 O-RING 1
SN: A85001--
? 07002-11423 O-RING 1
SN: A85001--
? 11Y-62-12170 ELBOW 1
SN: A85001--
? 02896-11008 O-RING 1
SN: A85001--
? 07002-12034 O-RING 1
SN: A85001--
? 01010-81040 BOLT 3
SN: A85001--
? 01643-31032 WASHER 3
SN: A85001--
? 207-62-73150 TUBE 1
SN: A85001--
? 07000-13048 O-RING 1
SN: A85001--
? 01010-81455 BOLT 4
SN: A85001--
? 01643-31445 WASHER 4
SN: A85001--
? 207-62-73190 TUBE 1
SN: A85001--
? 07000-13035 O-RING 1
SN: A85001--
? 07372-21040 BOLT 4
SN: A85001--
? 01643-51032 WASHER 4
SN: A85001--
? 207-62-73260 PLATE 1
SN: A85001--
? 07000-13048 O-RING 1
SN: A85001--
? 01252-71225 BOLT 2
SN: A85001--
? 207-62-73230 BLOCK 1
SN: A85001--
? 07000-13048 O-RING 1
SN: A85001--
? 01011-81210 BOLT 2
SN: A85001--
? 01643-31232 WASHER 2
SN: A85001--
? 207-62-73180 TUBE 1
SN: A85001--
? 07000-13035 O-RING 1
SN: A85001--
? 07372-21040 BOLT 4
SN: A85001--
? 01643-51032 WASHER 4
SN: A85001--
? 207-62-73290 HOSE, 630 MM 1
SN: A85001--
? 07000-13032 O-RING 2
SN: A85001--
? 07371-31049 FLANGE, SPLIT 4
SN: A85001--
? 07372-21035 BOLT 8
SN: A85001--
? 01643-51032 WASHER 8
SN: A85001--
? 207-62-73280 HOSE, 1830 MM 1
SN: A85001--
? 07000-13048 O-RING 2
SN: A85001--
? 07371-51470 FLANGE, SPLIT 4
SN: A85001--
? 01010-81455 BOLT 8
SN: A85001--
? 01643-31445 WASHER 8
SN: A85001--

Excavators Komatsu / PC300HD-7L S/N A85001-UP(PC300HD7) / H1270-02A0 HYDRAULIC PIPING MAIN RIGHT HAND ATTACHMENT LINES(H-165 : H1270-02A0)
?
?
?
?
?
?
?
?
?
?
?
?
?
?
?
?
?
?
?
?
?
?
?
?
?
?
?
?
?
?
?
?
?
?
?
?
?
?
?
?
?
?
?