| Номер на схеме | Каталожный номер | Название | Количество | Детали | |||
|---|---|---|---|---|---|---|---|
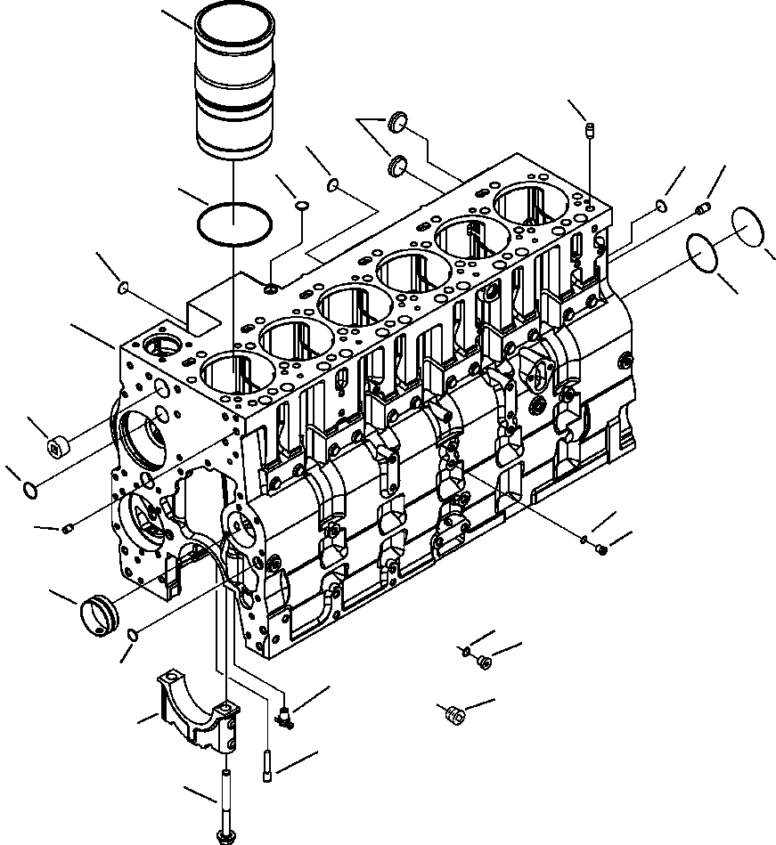
| ? | 6743-22-1100 | BLOCK ASSEMBLY, CYLINDER | 1 | ||||
| ? | (NSS) | • BLOCK, CYLINDER | 1 | ||||
| ? | 6742-01-1360 | • • PLUG, EXPANSION | 2 | ||||
| ? | 6742-01-1370 | • • PLUG, EXPANSION | 4 | ||||
| ? | 6732-21-1810 | • • PLUG, EXPANSION | 3 | ||||
| ? | 6742-01-5160 | • • BUSHING | 7 | ||||
| ? | 6742-01-1420 | • • PLUG, EXPANSION | 4 | ||||
| ? | 6741-21-1140 | • • BOLT (M14-2.00x135) | 14 | ||||
| ? | 6741-21-1130 | • • CAP, MAIN BEARING | 7 | ||||
| ? | 6743-01-1220 | • KIT, CYLINDER BLOCK HARDWARE | 1 | ||||
| ? | 6732-21-1960 | • PLUG, THREADED (M10-1.00x9.5) | 6 | ||||
| ? | (NSS) | • • • PLUG, THREADED (M10-1.00x9.5) | 1 | ||||
| ? | 6215-81-9710 | • • • SEAL, O-RING | 1 | ||||
| ? | 6216-94-3450 | • • DRAINCOCK | 1 | ||||
| ? | 6742-01-3890 | • • NOZZLE, PISTON COOLING | 6 | ||||
| ? | 6732-21-6120 | • • DOWEL, PIN | 2 | ||||
| ? | 6742-01-1470 | • • DOWEL, PIN | 4 | ||||
| ? | 6742-01-1480 | • • PLUG, EXPANSION | 1 | ||||
| ? | 6742-01-4080 | • • SEAL, O-RING | 1 | ||||
| ? | 6742-01-1460 | • • PLUG, PIPE | 1 | ||||
| ? | 6742-01-5159 | • KIT, LINER | 6 | ||||
| ? | (NSS) | • • LINER, CYLINDER | 1 | ||||
| ? | 6742-01-1520 | • • SEAL, RECTANGULAR RING | 1 | ||||
| ? | 6735-21-1910 | PLUG, THREADED | 1 | ||||
| ? | 6735-21-1930 | • SEAL, O-RING | 1 | ||||
| ? | (NSS) | • PLUG, THREADED | 1 | ||||
| ? | 6732-11-1910 | PLUG, PIPE | 1 | ||||
| ? | 6732-11-1920 | PLUG, PIPE | 4 | F1 | |||
| ? | 6735-21-1910 | PLUG, THREADED | 2 | ||||
| ? | 6735-21-1930 | • SEAL, O-RING | 1 | ||||
| ? | (NSS) | • PLUG, THREADED | 1 | ||||
| ? | 6732-21-1960 | PLUG, THREADED (M10-1.00x9.5) | 4 | F2 | |||
| ? | (NSS) | • PLUG, THREADED (M10-1.00x9.5) | 1 | ||||
| ? | 6215-81-9710 | • SEAL, O-RING (M10-1.00) | 1 | ||||
| ? | 6735-21-1910 | PLUG, THREADED (M14-1.50) | 1 | F2 | |||
| ? | (NSS) | • PLUG, THREADED (M14-1.50) | 1 | ||||
| ? | 6735-21-1930 | • SEAL, O-RING | 1 | ||||
| ? | 6732-11-1920 | PLUG, PIPE | 2 | F3 | |||
| ? | 6742-01-1380 | PLUG, EXPANSION | 2 | F3 | |||
| ? | 39 | ||||||
| ? | F3 - PART IS FOR PLUMBING PORTS OF CUSTOMER ADAPTION WATER SUPPLY TAP LOCATION AT BACK OF CYLINDER BLOCK. | 42 | |||||
| ? | F3 - PART IS FOR PLUMBING PORTS OF CUSTOMER ADAPTION WATER SUPPLY TAP LOCATION AT BACK OF CYLINDER BLOCK. | 42 | |||||
| ? | F3 - PART IS FOR PLUMBING PORTS OF CUSTOMER ADAPTION WATER SUPPLY TAP LOCATION AT BACK OF CYLINDER BLOCK. | 42 |