| Номер на схеме | Каталожный номер | Название | Количество | Детали | |||
|---|---|---|---|---|---|---|---|
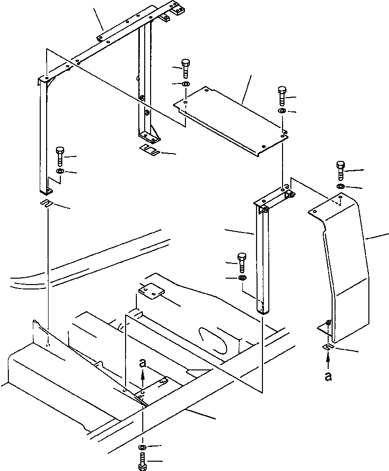
| ? | 207-54-51260 | COVER | 1 | ||||
| ? | 01010-51230 | BOLT | 4 | ||||
| ? | 01643-31232 | WASHER | 4 | ||||
| ? | 207-54-51270 | FRAME | 1 | ||||
| ? | 01010-51230 | BOLT | 1 | ||||
| ? | 01643-31232 | WASHER | 1 | ||||
| ? | 207-54-51252 | COVER | 1 | ||||
| ? | 01010-51230 | BOLT | 2 | ||||
| ? | 01010-51240 | BOLT | 2 | ||||
| ? | 01643-13232 | WASHER | 4 | ||||
| ? | 207-54-51242 | FRAME | 1 | ||||
| ? | 01010-51230 | BOLT | 3 | ||||
| ? | 01643-31232 | WASHER | 3 | ||||
| ? | 20Y-54-18190 | PLATE | 2 | ||||
| ? | 207-54-52560 | PLATE | 1 | ||||
| ? | FRAME, REVOLVING (SEE PG 04-018) | -29 | 04-018 |