k-part
Номер на схеме Каталожный номер Название Количество Детали
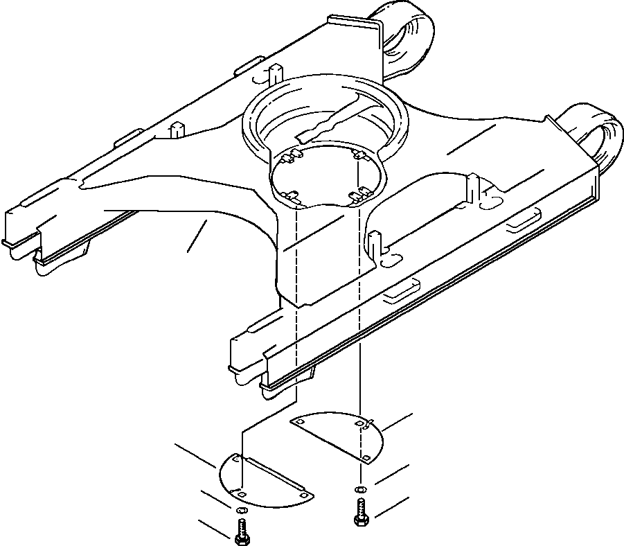
? 20Y-973-2220 COVER, REAR UNDER 1
? 20Y-973-2230 COVER, FRONT UNDER 1
? 01010-51235 BOLT 6
? 01643-31232 WASHER 6
? FRAME, TRACK (SEE PG 03-002) -29 03-002
?

Excavators Komatsu / PC300LC-5LC S/N A30001-UP(PC3005CE) / TRACK FRAME CENTER UNDERCOVER(03-004 : 03-004)
?
?
?
?
?
?
?