| Номер на схеме | Каталожный номер | Название | Количество | Детали | |||
|---|---|---|---|---|---|---|---|
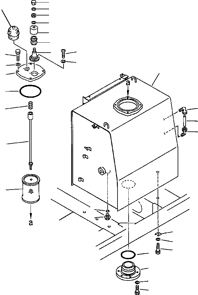
| ? | 207-60-00100 | TANK ASSEMBLY, HYDRAULIC | 1 | ||||
| ? | (NSS) | • TANK, HYDRAULIC | 1 | ||||
| ? | 203-60-31100 | • ELBOW ASSEMBLY | 2 | ||||
| ? | 203-60-31160 | • TUBE | 1 | ||||
| ? | 07002-02434 | • O-RING | 1 | ||||
| ? | 07044-12412 | • PLUG | 1 | ||||
| ? | 207-62-52291 | FLANGE | 1 | ||||
| ? | 07000-02125 | O-RING | 1 | ||||
| ? | 01010-51245 | BOLT | 2 | ||||
| ? | 01643-31232 | WASHER | 2 | ||||
| ? | 207-60-51300 | BREATHER ASSEMBLY | 1 | ||||
| ? | 207-60-51310 | • ELEMENT, FILTER | 1 | ||||
| ? | 207-60-51320 | • SEAL, WASHER | 2 | ||||
| ? | 01220-40516 | SCREW | 4 | ||||
| ? | 01601-20513 | WASHER, SPRING | 4 | ||||
| ? | 01010-51035 | BOLT | 4 | ||||
| ? | 01643-31032 | WASHER | 4 | ||||
| ? | 208-60-51251 | COVER | 1 | ||||
| ? | 07000-05180 | O-RING | 1 | ||||
| ? | 12R-60-11230 | SPRING | 1 | ||||
| ? | 207-60-51161 | SUPPORT | 1 | ||||
| ? | 207-60-51200 | STRAINER | 1 | ||||
| ? | 01010-51635 | BOLT | 6 | ||||
| ? | 01643-31645 | WASHER | 6 | ||||
| ? | 195-03-11570 | SHIM, 0.0394 IN (1.0 mm) | 2 | ||||
| ? | CAP, ANTI-VANDALISM (SEE PG 09-008) | -29 | 09-008 | ||||
| ? | FRAME, REVOLVING (SEE PG 04-018) | -29 | 04-018 |