| Номер на схеме | Каталожный номер | Название | Количество | Детали | |||
|---|---|---|---|---|---|---|---|
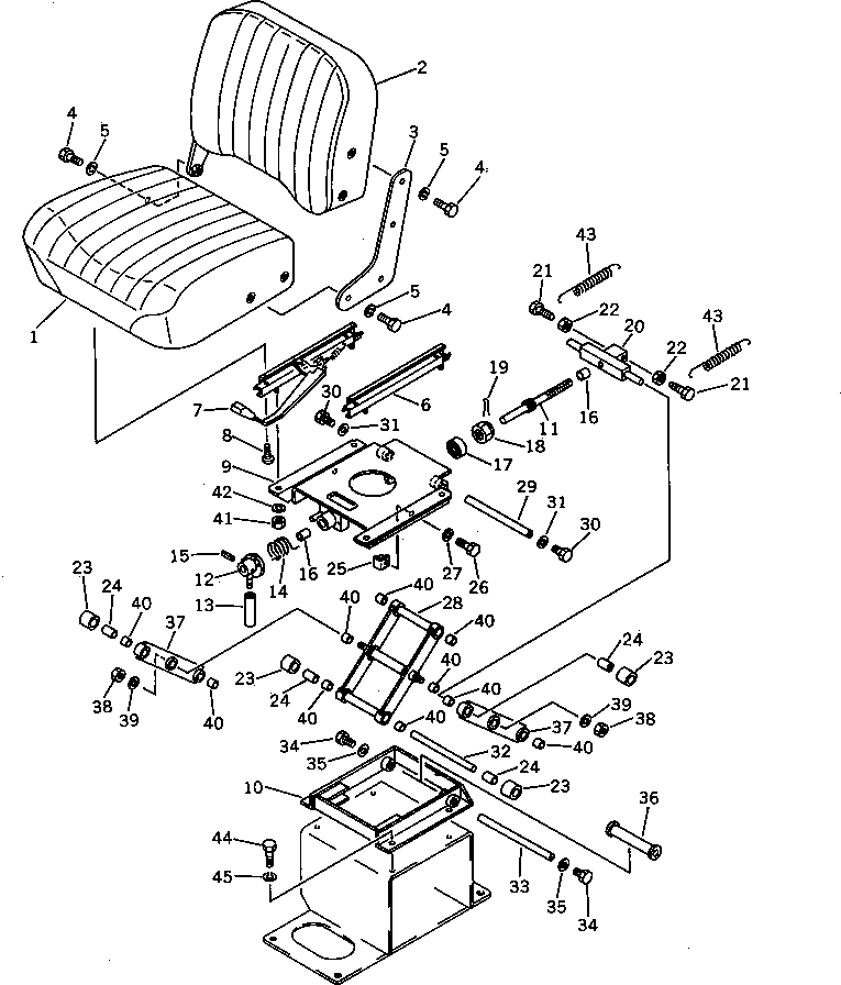
| ? | 238-57-00010 | SEAT ASS'Y | 1 | SN: 10002- |
|||
| ? | 238-57-11110 | • SEAT | 1 | SN: 10002- |
|||
| ? | 238-57-11120 | • SEAT | 1 | SN: 10002- |
|||
| ? | 238-57-11130 | • PLATE | 1 | SN: 10002- |
|||
| ? | 01010-51025 | • BOLT | 5 | SN: 10002- |
|||
| ? | 01602-21030 | • WASHER | 5 | SN: 10002- |
|||
| ? | 236-54-22331 | • ADJUSTER ASS'Y | 1 | SN: 10002- |
|||
| ? | 236-54-22351 | • ADJUSTER ASS'Y | 1 | SN: 10002- |
|||
| ? | 01220-40816 | • SCREW | 4 | SN: 10002- |
|||
| ? | 238-57-11150 | • BRACKET | 1 | SN: 10002- |
|||
| ? | 238-57-11140 | • BRACKET | 1 | SN: 10002- |
|||
| ? | 238-57-11170 | • SHAFT | 1 | SN: 10002- |
|||
| ? | 238-57-11240 | • LEVER | 1 | SN: 10002- |
|||
| ? | 09304-01240 | • KNOB | 1 | SN: 10002- |
|||
| ? | 238-57-11180 | • SPRING | 1 | SN: 10002- |
|||
| ? | 04025-00432 | • PIN | 1 | SN: 10002- |
|||
| ? | 232-43-57180 | • BUSHING | 2 | SN: 10002- |
|||
| ? | 06000-51104 | • BEARING | 1 | SN: 10002- |
|||
| ? | 01592-12022 | • NUT | 1 | SN: 10002- |
|||
| ? | 04050-14040 | • PIN | 1 | SN: 10002- |
|||
| ? | 238-57-11160 | • SLIDER | 1 | SN: 10002- |
|||
| ? | 238-57-11260 | • BOLT | 2 | SN: 10002- |
|||
| ? | □01583-11006 | • NUT | 2 | SN: 10002- |
|||
| ? | 238-57-11270 | • ROLLER | 4 | SN: 10002- |
|||
| ? | 232-43-57180 | • BUSHING | 4 | SN: 10002- |
|||
| ? | 238-57-11250 | • STOPPER | 2 | SN: 10002- |
|||
| ? | 01010-51025 | • BOLT | 2 | SN: 10002- |
|||
| ? | 01602-21030 | • WASHER | 2 | SN: 10002- |
|||
| ? | 238-57-11280 | • LINK | 1 | SN: 10002- |
|||
| ? | 238-57-11210 | • SHAFT | 1 | SN: 10002- |
|||
| ? | □01010-51016 | • BOLT | 2 | SN: 10002- |
|||
| ? | 01643-31032 | • WASHER | 2 | SN: 10002- |
|||
| ? | 238-57-11220 | • SHAFT | 1 | SN: 10002- |
|||
| ? | 238-57-11190 | • SHAFT | 1 | SN: 10002- |
|||
| ? | □01010-51016 | • BOLT | 2 | SN: 10002- |
|||
| ? | 01643-31032 | • WASHER | 2 | SN: 10002- |
|||
| ? | 238-57-11230 | • SPACER | 1 | SN: 10002- |
|||
| ? | 238-57-11290 | • ARM | 2 | SN: 10002- |
|||
| ? | 01580-11008 | • NUT | 2 | SN: 10002- |
|||
| ? | 01643-31032 | • WASHER | 2 | SN: 10002- |
|||
| ? | 232-43-52320 | • BUSHING | 10 | SN: 10002- |
|||
| ? | 01580-10806 | • NUT | 4 | SN: 10002- |
|||
| ? | 01602-20825 | • WASHER | 4 | SN: 10002- |
|||
| ? | 238-57-11310 | • SPRING | 2 | SN: 10002- |
|||
| ? | 01010-51030 | • BOLT | 4 | SN: 10002- |
|||
| ? | 01602-21030 | • WASHER | 4 | SN: 10002- |
