| Номер на схеме | Каталожный номер | Название | Количество | Детали | |||
|---|---|---|---|---|---|---|---|
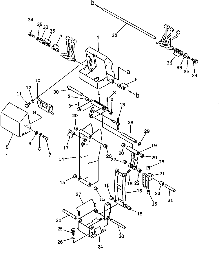
| ? | 234-43-37110 | BRACKET | 1 | SN: 10002- |
|||
| ? | 234-885-1620 | BUSHING | 2 | SN: 10002- |
|||
| ? | 04025-00532 | PIN | 2 | SN: 10002- |
|||
| ? | 234-43-37220 | BRACKET | 1 | SN: 10002- |
|||
| ? | 234-885-1620 | BUSHING | 4 | SN: 10002- |
|||
| ? | 234-43-37230 | COVER | 1 | SN: 10002- |
|||
| ? | 01220-40610 | SCREW | 7 | SN: 10002- |
|||
| ? | 01602-20619 | WASHER | 7 | SN: 10002- |
|||
| ? | 01641-20608 | WASHER | 7 | SN: 10002- |
|||
| ? | 233-43-27240 | PLATE | 1 | SN: 10002- |
|||
| ? | 01010-50820 | BOLT | 4 | SN: 10002- |
|||
| ? | 01602-20825 | WASHER | 4 | SN: 10002- |
|||
| ? | 233-43-27250 | HANDLE | 1 | SN: 10002- |
|||
| ? | 233-43-27350 | BRACKET | 1 | SN: 10002- |
|||
| ? | 234-885-1620 | BUSHING | 6 | SN: 10002- |
|||
| ? | 233-43-27360 | BRACKET | 1 | SN: 10002- |
|||
| ? | 234-885-1620 | BUSHING | 2 | SN: 10002- |
|||
| ? | 04025-00532 | PIN | 1 | SN: 10002- |
|||
| ? | □233-43-27370 | BRACKET | 1 | SN: 10002- |
|||
| ? | 234-885-1620 | BUSHING | 4 | SN: 10002- |
|||
| ? | 233-43-27380 | SLIDER | 1 | SN: 10002- |
|||
| ? | 234-885-1620 | BUSHING | 2 | SN: 10002- |
|||
| ? | 234-885-1610 | BUSHING | 1 | SN: 10002- |
|||
| ? | 234-43-37720 | BRACKET | 1 | SN: 10002- |
|||
| ? | □01010-51225 | BOLT | 4 | SN: 10002- |
|||
| ? | 01602-21236 | WASHER | 4 | SN: 10002- |
|||
| ? | 04025-00532 | PIN | 2 | SN: 10002- |
|||
| ? | 233-43-27390 | SHAFT | 1 | SN: 10002- |
|||
| ? | 04064-02012 | RING | 1 | SN: 10002- |
|||
| ? | 233-43-27310 | SHAFT | 3 | SN: 10002- |
|||
| ? | 233-43-27330 | SHAFT | 1 | SN: 10002- |
|||
| ? | 234-43-37340 | SHAFT | 1 | SN: 10002- |
|||
| ? | 232-43-58360 | WASHER | 2 | SN: 10002- |
|||
| ? | □01010-51225 | BOLT | 2 | SN: 10002- |
|||
| ? | 01602-21236 | WASHER | 2 | SN: 10002- |
|||
| ? | 232-43-58370 | SHIM¤ 0.5MM | 5 | SN: 10002- |
|||
| ? | 232-43-58380 | SHIM¤ 0.2MM | 10 | SN: 10002- |
