k-part
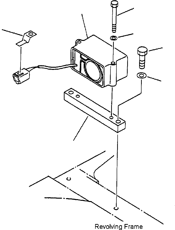
Номер на схеме Каталожный номер Название Количество Детали
? 20Y-06-A1010 ALARM, TRAVEL 1
? 08053-01512 CLIP 1
? 01011-51000 BOLT 2
? 01643-31032 WASHER 2
? 20Y-06-21770 PLATE 1
? 01010-51245 BOLT 2
? 01643-31232 WASHER 2

Excavators Komatsu / PC200-6/LC-6 Supplement S/N 80001-UP(PC2006SP) / TRAVEL ALARM(E-002 : E0420X22.001)
?
?
?
?
?
?
?