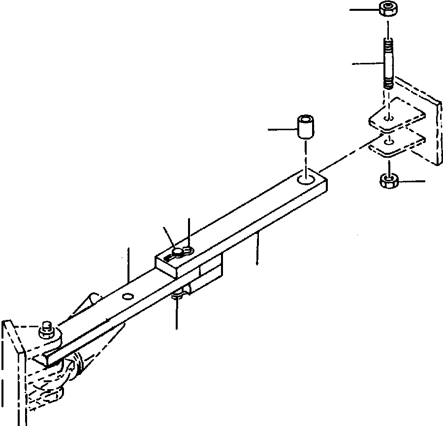
Найти k-part Содержание Rollers DRESSTA VOS66A, A66A, D66A, PD66A S/N U490404 & U490500-UP(66A) ARTICULATION LOCK(09-006 : 09-006) Номер на схеме Каталожный номер Название Количество Детали ? 142 894 STRUT 2 ? 104 829 PIN 4 ? 78 744 PIN, HAIR 8 ? 142 895 STRUT WELDMENT 2 ? 121 316 SPACER 4 ? 93 168 STUD 4 ? 53 985 NUT, LOCK 8 ? 129 385 ANGLE 2 ? ? ? ? ? ? ? ? ?