| Номер на схеме | Каталожный номер | Название | Количество | Детали | |||
|---|---|---|---|---|---|---|---|
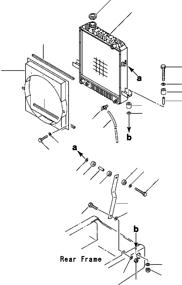
| ? | 416-03-11600 | RADIATOR ASSEMBLY | 1 | F1 | |||
| ? | 416-03-A1160 | RADIATOR ASSEMBLY | 1 | F2 | |||
| ? | 417-03-A1210 | RADIATOR ASSEMBLY | 1 | F3 | |||
| ? | 416-03-11210 | • CORE ASSEMBLY W/OIL COOLER, RADIATOR | 1 | F1 | |||
| ? | 416-03-A1150 | • CORE ASSEMBLY W/OIL COOLER, RADIATOR | 1 | F2 | |||
| ? | 416-03-11170 | • CAP, RADIATOR | 1 | ||||
| ? | 416-03-11610 | • SHROUD | 1 | ||||
| ? | 416-03-11131 | • PACKING | 2 | ||||
| ? | 01010-50816 | • BOLT, SHROUD MOUNTING | 8 | ||||
| ? | 01643-30823 | • WASHER | 8 | ||||
| ? | 415-03-11150 | • DRAIN COCK | 1 | ||||
| ? | 415-03-11160 | • • O-RING | 1 | ||||
| ? | 416-03-11151 | • HOSE, RADIATOR DRAIN | 1 | ||||
| ? | 01010-51265 | BOLT, MOUNT RADIATOR TO FRAME (BOTTOM) | 2 | ||||
| ? | 416-03-11210 | WASHER | 4 | ||||
| ? | 416-03-11221 | CUSHION, MOUNTING | 4 | ||||
| ? | 415-03-11210 | SPACER | 2 | ||||
| ? | 01643-31232 | WASHER | 2 | ||||
| ? | 01580-01210 | NUT | 2 | ||||
| ? | 417-03-10212 | BRACKET, RADIATOR MOUNTING | 2 | ||||
| ? | 01010-51245 | BOLT, MOUNTING BRACKET TO RADIATOR (TOP) | 2 | ||||
| ? | 419-43-17920 | WASHER | 4 | ||||
| ? | 416-03-11260 | CUSHION, MOUNTING | 4 | ||||
| ? | 416-03-11250 | CUSHION, MOUNTING | 2 | ||||
| ? | 416-03-11270 | SPACER | 2 | ||||
| ? | 416-03-11282 | BOLT, MOUNTING BRACKET TO FRAME | 2 | ||||
| ? | 01643-31232 | WASHER | 4 | ||||
| ? | 01580-11210 | NUT | 2 | ||||
| ? | |||||||
| ? | F1 - USED ON MACHINES S/N A20001 THRU A20???. | ||||||
| ? | |||||||
| ? | F2 - USED ON MACHINES S/N A20??? THRU A20225. | ||||||
| ? | |||||||
| ? | F3 - USED ON MACHINES S/N A20226 AND UP, SERVICE | ||||||
| ? | PARTS NOT AVAILABLE AT TIME OF PRINTING. |