k-part
Номер на схеме Каталожный номер Название Количество Детали
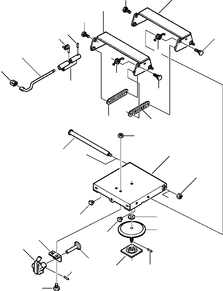
? 423-57-A1120 SUSPENSION ASSEMBLY 1
? (NSS) • ADJUSTER, SEAT 1
? (NSS) • PIN, ROLL 1
? (NSS) • PAD, SPRING 1
? 423-57-A1210 • SPRING CONICAL 1
? (NSS) • WASHER, SPRING 1
? (NSS) • GEAR AND SHAFT, VERTICAL 1
? (NSS) • PIN, ROLL 1 F5
? (NSS) • GEAR AND SHAFT, HORIZONTAL 1
? (NSS) • BRACKET, SHAFT 1
? (NSS) • ARM, SUSPENSION 1
? (NSS) • KNOB, WEIGHT ADJUSTMENT 1 F5
? (NSS) • PRODUCT GRAPHIC, INSTRUCTION 1
? (NSS) • BUSHING, TUBE 4 F1
? (NSS) • BOOT, SUSPENSION 1 F3
? (NSS) • FASTENER, PUSH ON 23 F3
? (NSS) • WASHER, THRUST 1
? (NSS) • BUMPER, SLIDER 1 F1
? (NSS) • BUMPER, SLIDER 1 F1
? (NSS) • BUMPER, SLIDER 1 F1
? (NSS) • BUMPER, SLIDER 1 F1
? (NSS) • ABSORBER, SHOCK 1 F4
? (NSS) • BUSHING, SHOCK ABSORBER 2 F4
? (NSS) • BOLT, SHOULDER 1
? (NSS) • NUT, LOCK 1
? (NSS) • BUMPER, SLIDE 2
? (NSS) • INDICATOR, RIDE 1 F1
? (NSS) • SHAFT, MOUNTING 2
? (NSS) • NUT, LOCK 2
? (NSS) • PIN, ROLL 1
? (NSS) • BOLT, CARRIAGE 2
? (NSS) • NUT, LOCK 2
? (NSS) • HOUSING, UPPER 1
? (NSS) • LINK 2
? (NSS) • LEVER, HEIGHT ADJUSTMENT 1
? (NSS) • SPRING 1 F2
? (NSS) • BOLT, 1/2NC X 1 - SHOULDER 4
? (NSS) • LINK, CONNECTING 2
? (NSS) • LATCH ASSEMBLY 1
? (NSS) • PIN, COIL SPRING - 5/32 X 3/4 1
? (NSS) • SPRING 2 F2
? (NSS) • CAP HEIGHT ADJUSTMENT 1
? 423-57-A1130 • BEARING KIT 1
? 423-57-A1220 • SPRING KIT 1
? 423-57-A1250 • BOOT KIT 1
? 423-57-A1270 • SHOCK KIT 1
? 423-57-A1310 • ADJUSTMENT KNOB KIT 1
? 423-57-A1330 • BEARING KIT 1
?
? F1 - ORDER BEARING KIT 423-57-A1130
?
? F2 - ORDER SPRING KIT 423-57-A1220
?
? F3 - ORDER BOOT KIT 423-57-A1250
?
? F4 - ORDER SHOCK KIT 423-57-A1270
?
? F5 - ORDER ADJ. KNOB KIT 423-57-A1310
?
? F6 - ORDER BEARING KIT 423-57-A1330
?

Wheel Loaders DRESSTA / 512 S/N C003001-UP(512) / OPERATOR
?
?
?
?
?
?
?
?
?
?
?
?
?
?
?
?
?
?
?
?
?
?
?
?
?
?
?
?
?
?
Wheel Loaders DRESSTA / 512 S/N C003001-UP(512) / OPERATOR
?
?
?
?
?
?
?
?
?
?
?
?
?
?
?
?
?
?
?
?
?
?