| Номер на схеме | Каталожный номер | Название | Количество | Детали | |||
|---|---|---|---|---|---|---|---|
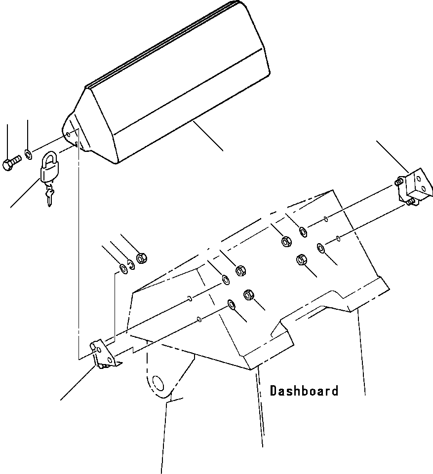
| ? | 416-978-1110 | COVER, INSTRUMENT PANEL | 1 | ||||
| ? | 416-978-1160 | BRACKET, LH MOUNTING | 1 | ||||
| ? | 416-978-1170 | BRACKET, RH MOUNTING | 1 | ||||
| ? | 01580-10605 | NUT | 4 | ||||
| ? | 01643-30623 | WASHER | 4 | ||||
| ? | 01010-51030 | BOLT | 2 | ||||
| ? | 01598-01011 | NUT | 2 | ||||
| ? | 01603-01018 | WASHER, LOCK | 2 | ||||
| ? | 01643-31032 | WASHER | 4 | ||||
| ? | 650 382 C91 | PADLOCK, WITH KEYS | 1 |