| Номер на схеме | Каталожный номер | Название | Количество | Детали | |||
|---|---|---|---|---|---|---|---|
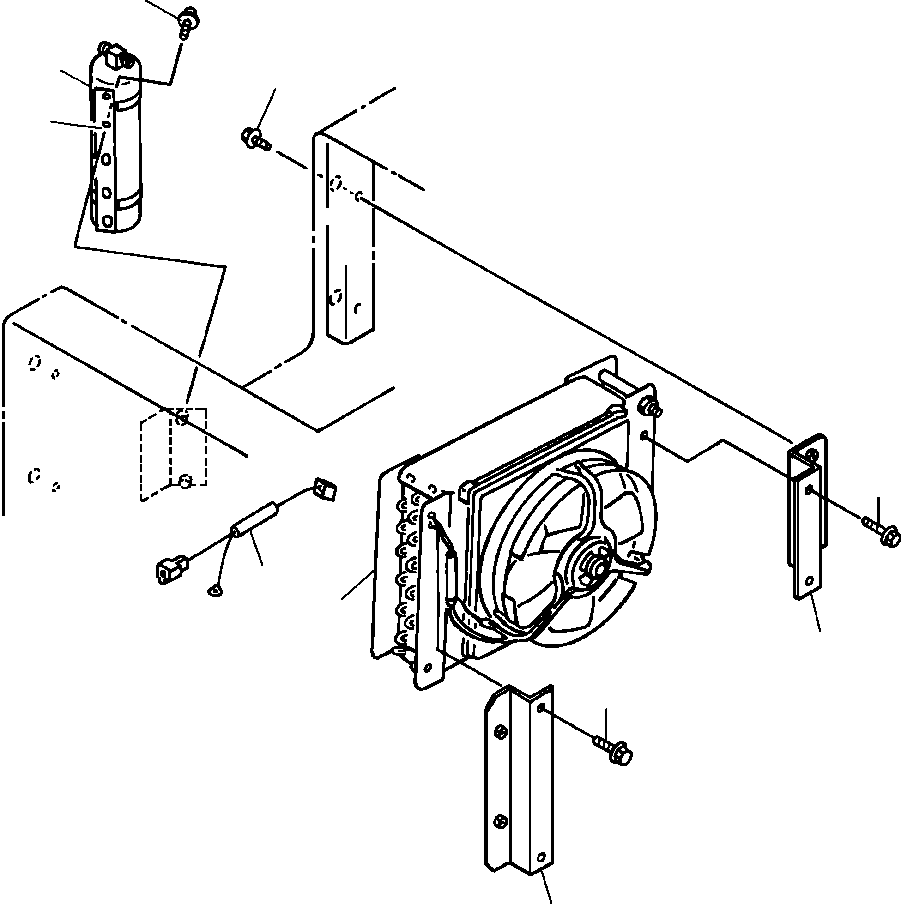
| ? | CONDENSER ASSEMBLY (SEE PG 05-150) | -29 | F1;13FDW250.006 | a | |||
| ? | CONDENSER ASSEMBLY (SEE PG 05-152) | -29 | F2;13FDW380.006 | b | |||
| ? | 423-963-1430 | BRACKET, L.H | 1 | ||||
| ? | 423-963-1360 | BRACKET, R.H | 1 | ||||
| ? | 01435-01016 | BOLT | 4 | ||||
| ? | 01435-01220 | BOLT | 4 | ||||
| ? | 425-963-A220 | RECEIVER, DRYER UNIT | 1 | F2 | a | ||
| ? | RECEIVER, TANK (SEE PG 05-150) | -29 | F1;13FDW250.006 | b | |||
| ? | 425-963-A210 | BRACKET, RECEIVER | 1 | F2 | |||
| ? | 425-963-A720 | • BOLT, HEX - M5 X .8 X 20 | 4 | a | |||
| ? | RECEIVER, HOLDER (SEE PG 05-150) | -29 | F1;13FDW250.006 | b | |||
| ? | • BOLT (SEE PG 05-150) | -29 | F1;13FDW250.006 | ||||
| ? | • WASHER (SEE PG 05-150) | -29 | F1;13FDW250.006 | ||||
| ? | 01435-00820 | BOLT | 2 | F2 | |||
| ? | 421-963-1350 | WIRE ASSEMBLY | 1 | ||||
| ? | |||||||
| ? | F1 - USED ON MACHINES S/N 4024 AND DOWN. | ||||||
| ? | |||||||
| ? | |||||||
| ? | F2 - USED ON MACHINES S/N 4025 AND UP. | ||||||
| ? |