k-part
Номер на схеме Каталожный номер Название Количество Детали
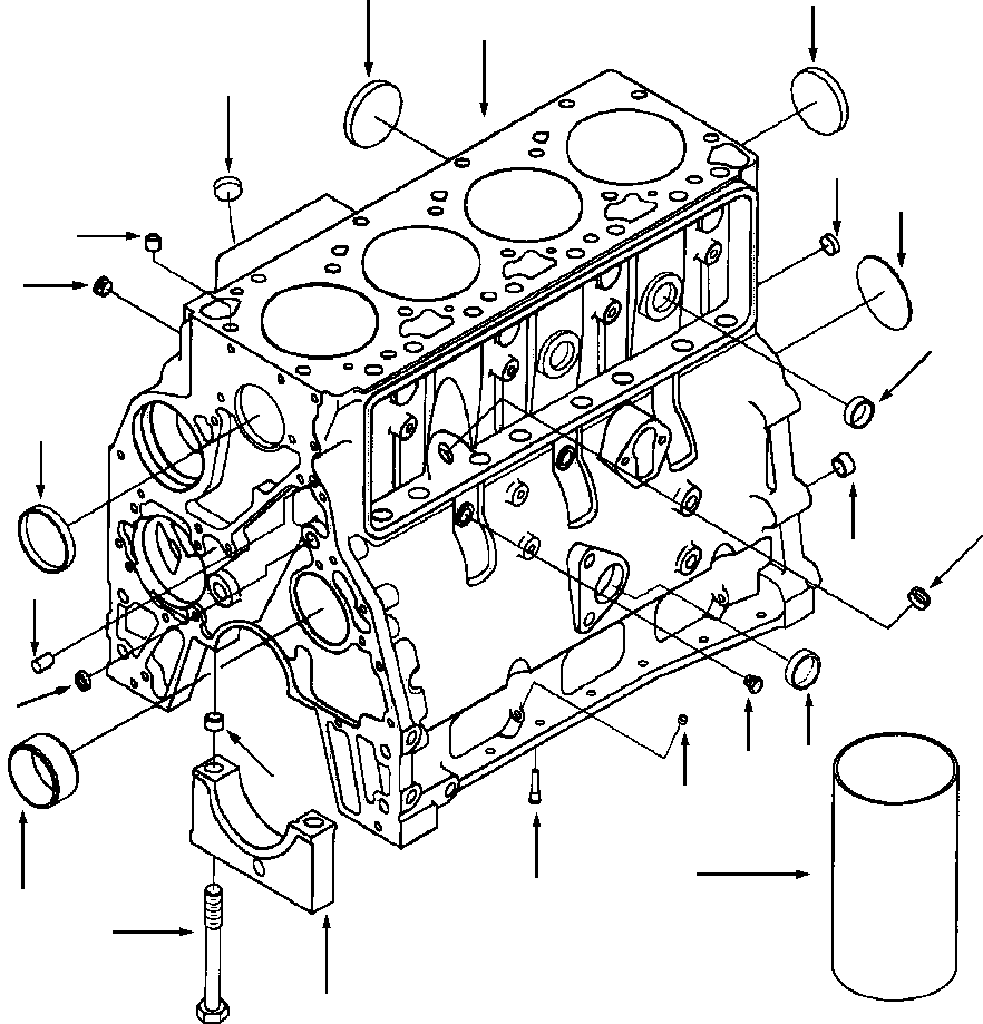
? 1242 054 H91 BLOCK, CYLINDER - SERVICE 1
? (NSS) • BLOCK, SERVICE 1
? 6732-21-1410 • BUSHING 1
? 6732-21-1610 • BOLT (M14x2.00x119) 10
? 6732-21-1210 • CAP, MAIN BEARING 5
? 6736-21-1810 • PLUG, EXPANSION (58.06 mm) 4
? 6736-21-1820 • PLUG, EXPANSION (1 INCH) 2
? 1240 152 H1 • PLUG, EXPANSION (17.73 mm) 3
? 1240 121 H1 • DOWEL, RING (M18x10) 10
? 1295 787 H91 KIT, BLOCK HARDWARE 1
? 6732-21-6140 • DOWEL, RING (M16x10) 2
? 6732-21-1190 • NOZZLE, PISTON COOLING 4
? 1240 121 H1 • DOWEL, RING (M18x10) 2
? 6732-21-6120 • DOWEL, PIN (M10x16) 2
? 6732-11-1910 • PLUG, PIPE (1/2 NPT) 1
? 6732-11-1930 • PLUG, PIPE (1/8 NPT) 2
? 6735-21-5530 • PLUG, EXPANSION (7/8 INCH NOT USED) 1
? 6732-21-6130 • PLUG, EXPANSION 1
? 6732-21-5530 • PLUG, EXPANSION 1
? 6732-21-6160 • PLUG, EXPANSION (32.03) 1
?
? SERVICE PARTS
? 6736-29-1410 BUSHING (OVERSIZE FOR NO. 1 BORE.) A/R
? 6736-29-1420 BUSHING (OVERSIZE FOR NO 2 - 5 BORE) A/R
? 6732-21-1210 CAP, MAIN BEARING 5
? 6736-29-2110 SLEEVE, SALVAGE (STD BORE) A/R

Rollers DRESSTA / 712 & 714 S/N 61880-UP(712714) / CYLINDER BLOCK(E2-002 : E2-002)
?
?
?
?
?
?
?
?
?
?
?
?
?
?
?
?
?
?
?
?
?
?
?