| Номер на схеме | Каталожный номер | Название | Количество | Детали | |||
|---|---|---|---|---|---|---|---|
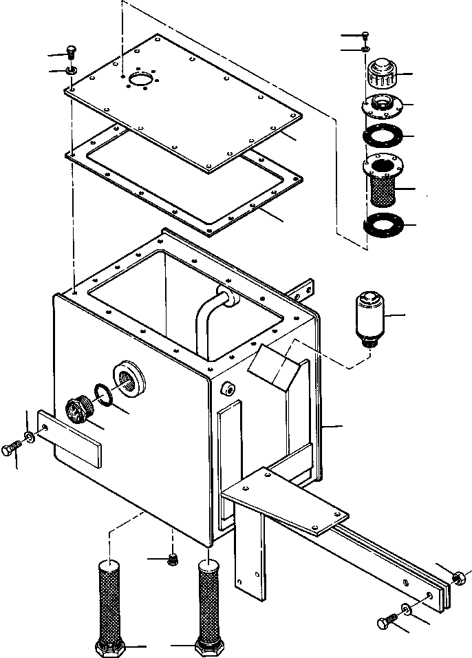
| ? | 1235 857 H2 | CAP | 1 | ||||
| ? | 593 749 R1 | SCREW, SELF TAPPING | 6 | ||||
| ? | 1261 227 H1 | WASHER, SEALING | 6 | ||||
| ? | 130 660 | NECK, FILLER | 1 | ||||
| ? | 130 662 | GASKET, FILLER NECK | 1 | ||||
| ? | 130 661 | SCREEN | 1 | ||||
| ? | 1234 210 H1 | PLATE | 1 | ||||
| ? | 25 222 R1 | BOLT | 16 | ||||
| ? | 25 532 R1 | WASHER | 16 | ||||
| ? | 155 593 | FASTENER, SEAL | 16 | ||||
| ? | 1234 212 H1 | GASKET, PLATE | 1 | ||||
| ? | 561 468 C1 | BREATHER, TANK | 1 | ||||
| ? | 561 765 C1 | • KIT, ELEMENT & SEAL | 1 | ||||
| ? | 1235 124 H92 | TANK WELDMENT, HYDRAULIC OIL | 1 | ||||
| ? | 140 483 H | BOLT | 4 | ||||
| ? | 25 534 R1 | WASHER, FLAT | 4 | ||||
| ? | 25 522 R1 | NUT, HEX | 2 | ||||
| ? | 1234 211 H1 | STRAINER, SUCTION | 2 | ||||
| ? | 307 915 R1 | O-RING | 1 | ||||
| ? | 1110 549 C1 | GAUGE, SIGHT | 1 | ||||
| ? | 444 820 | PLUG, DRAIN | 1 |