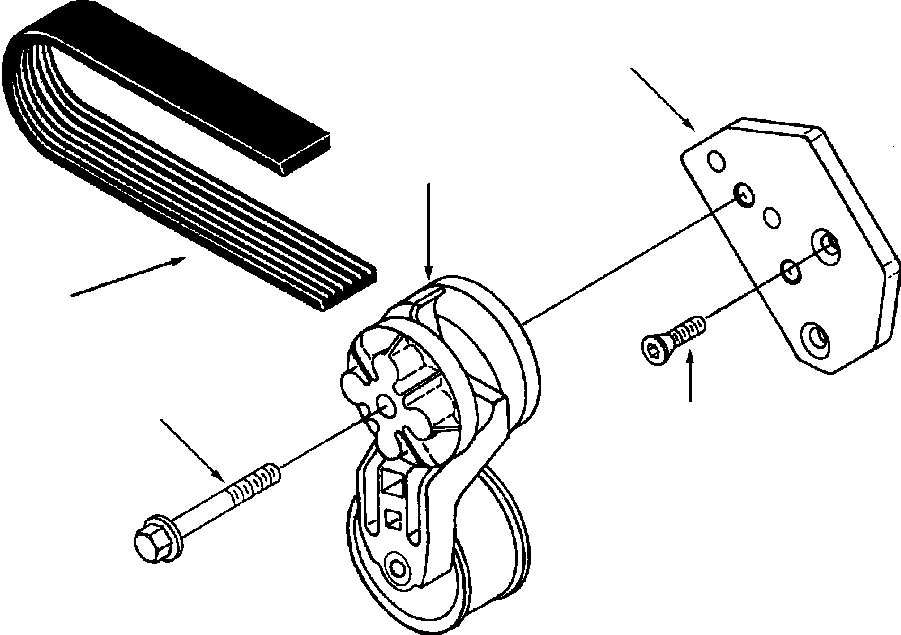
| Номер на схеме | Каталожный номер | Название | Количество | Детали | |||
|---|---|---|---|---|---|---|---|
| ? | 6732-61-4140 | SCREW, FLAT HEAD CAP (M8x1.25x25) | 2 | ||||
| ? | 6732-61-4120 | BOLT (M10x1.50x70) | 1 | ||||
| ? | 1257 759 H1 | BELT, V-RIBBED | 1 | ||||
| ? | 6732-61-4110 | TENSIONER, BELT | 1 | ||||
| ? | 1241 746 H1 | BRACKET, BELT TENSIONER | 1 |
| Номер на схеме | Каталожный номер | Название | Количество | Детали | |||
|---|---|---|---|---|---|---|---|
| ? | 6732-61-4140 | SCREW, FLAT HEAD CAP (M8x1.25x25) | 2 | ||||
| ? | 6732-61-4120 | BOLT (M10x1.50x70) | 1 | ||||
| ? | 1257 759 H1 | BELT, V-RIBBED | 1 | ||||
| ? | 6732-61-4110 | TENSIONER, BELT | 1 | ||||
| ? | 1241 746 H1 | BRACKET, BELT TENSIONER | 1 |