| Номер на схеме | Каталожный номер | Название | Количество | Детали | |||
|---|---|---|---|---|---|---|---|
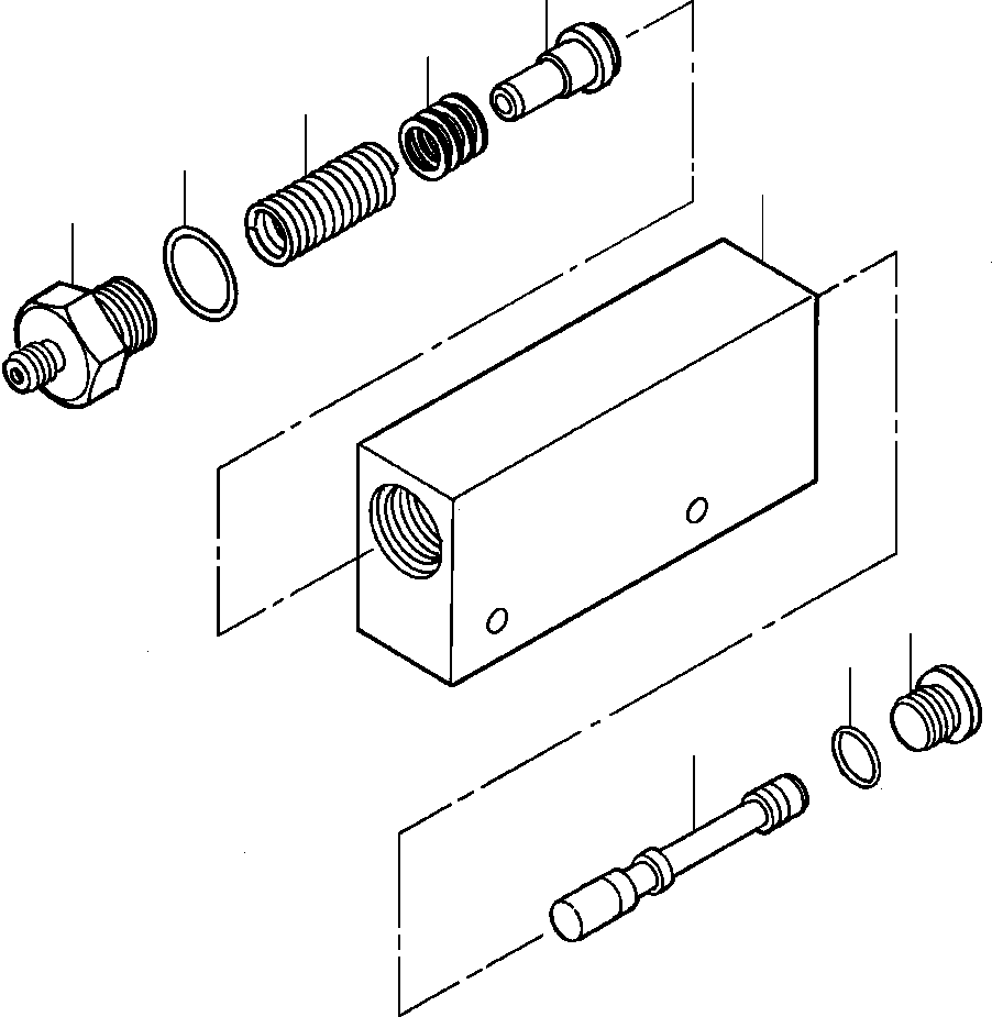
| ? | 1277 706 H93 | VALVE, PRESSURE REGULATOR | 1 | F1 | |||
| ? | 875 682 C1 | • CONNECTOR, REDUCING | 1 | ||||
| ? | 368 269 R1 | • O-RING | 1 | ||||
| ? | 1277 593 H1 | • SPRING | 1 | ||||
| ? | 1257 877 H1 | • SHIM | 4 | ||||
| ? | 1257 876 H1 | • RETAINER | 1 | ||||
| ? | (NSS) | • HOUSING | 1 | ||||
| ? | (NSS) | • SPOOL | 1 | ||||
| ? | 570 828 R1 | • O-RING | 1 | ||||
| ? | 1141 265 C1 | • PLUG | 1 | ||||
| ? | |||||||
| ? | F1 - FOR MOUNTING HARDWARE SEE PG 10-027 OR 10-029 | ||||||
| ? |