k-part
Номер на схеме Каталожный номер Название Количество Детали
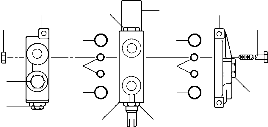
? 1280 335 H91 VALVE, BLADE LIFT CONTROL 1
? 1435 683 H1 • COVER, INLET 1
? 9410 361 • PLUG 1
? 368 269 R1 • O-RING 1
? • VALVE, MAIN RELIEF (SEE PG 10-086) -29 10-086
? 1434 064 H91 • KIT, SEAL K-6028 2 F1
? (NSS) • • O-RING - LARGE 2
? (NSS) • • O-RING - SMALL 2
? • VALVE SECTION (SEE PG 10-088) -29 10-088
? • PLUG, LOAD CHECK (SEE PG 10-090) -29 10-090
? • PLUG, ANTI-CAVITATION CHECK (SEE PG 10-092) -29 10-092
? • POSITIONER, FLOAT DETENT (SEE PG 10-094) -29 10-094
? 1435 686 H1 • COVER, OUTLET 1
? 9410 362 • • PLUG 1
? 297 459 R1 • • O-RING 1
? 1435 689 H91 • KIT, STUD 1
? (NSS) • • STUD ASSEMBLY 3
? (NSS) • • NUT, HEX - TIGHTEN TO 32 FT. LBS 3
?
? F1 - SEAL KIT INCLUDES BOTH OLD AND NEW STYLE SEALS
?

Rollers DRESSTA / 784, D784, PD784 S/N 452000-Up(784) / BLADE LIFT CONTROL VALVE(10-084 : 10-084)
?
?
?
?
?
?
?
?
?
?
?
?
?
?
?
?
?